Operation CHARM: Car repair manuals for everyone.
Manuals through 2025 now available!

Our trusted friends have launched a new website named LEMON, which has newer manuals. It also contains all the CHARM manuals.

LEMON is the spiritual successor to CHARM, I recommend you try it!

Link: lemon-manuals.la or lemon-manuals.org.ua

(Some people have issue connecting. LEMON is investigating. For now, use Firefox or change your DNS server)

Or, hide this message: temporarily or permanently

Catalytic Converter: Service and Repair

Catalytic Converter





Material

Removal and Installation





1. WARNING: The electrical power to the air suspension system must be turned off prior to hoisting, jacking or towing an air suspension vehicle. Failure to do so can result in unexpected inflation or deflation of the air springs, which can result in shifting of the vehicle during these operations.

Turn the air suspension switch off.
2. With the vehicle in NEUTRAL, position it on a hoist.





3. Disconnect the Heated Oxygen Sensor (HO2S) electrical connector.





4. Disconnect the Catalyst Monitor Sensor (CMS) electrical connector.





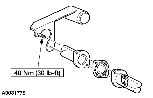
5. Remove and discard the catalytic converter-to-exhaust manifold nuts.





6. Remove the catalytic converter-to-outlet pipe bolts, the flag nuts and the damper, then remove the catalytic converter. Discard the bolts, the flag nuts and the gasket.





7. NOTE: Apply a thin coat of anti-seize lubricant to the threads of the sensors before installation.

If necessary, remove the H02S and CMS.

8. NOTE: Clean the mating surfaces of the exhaust manifold, the outlet pipe and the catalytic converter.

NOTE: Always install new exhaust system fasteners and gaskets.

NOTE: Do not tighten the fasteners until all components are assembled. Make sure to tighten all fasteners beginning at the front of the vehicle.

NOTE: To correctly seat the converter, alternately tighten the exhaust manifold-to-catalytic converter nuts to specification.

Alternately tighten the catalytic converter-to-inlet pipe bolts to specification to draw the flanges together evenly.
To install, reverse the removal procedure.