Operation CHARM: Car repair manuals for everyone.
Manuals through 2025 now available!

Our trusted friends have launched a new website named LEMON, which has newer manuals. It also contains all the CHARM manuals.

LEMON is the spiritual successor to CHARM, I recommend you try it!

Link: lemon-manuals.la or lemon-manuals.org.ua

(Some people have issue connecting. LEMON is investigating. For now, use Firefox or change your DNS server)

Or, hide this message: temporarily or permanently

Reactivate

SUPPLEMENTAL RESTRAINT SYSTEM (SRS) DEACTIVATION AND REACTIVATION


Special Tool(s):






SPECIAL TOOL(S)

REACTIVATION

WARNING: To reduce the risk of serious personal injury, read and follow all warnings, cautions, and notes at the beginning of the deactivation procedure.

All Vehicles







1. NOTE: Make sure the battery ground cable is still disconnected before proceeding with the reactivation portion of this procedure.

Remove the restraint system diagnostic tool from the driver safety belt retractor pretensioner electrical connector.







2. Connect the driver safety belt retractor pretensioner electrical connector.







3. Align the driver side B-pillar lower trim panel and push in, seating the retaining clips.







4. Install the driver side B-pillar weather-stripping.







5. Install the driver side rear door scuff plate.







6. Install the driver side front door scuff plate.

Vehicles with side air bags







7. Remove the restraint system diagnostic tool from the driver seat side air bag module electrical connector and reconnect the connector.







8. Connect the driver seat side air bag module electrical connector, located at the lower rear of the seat cushion pan.


All Vehicles







9. Remove the restraint system diagnostic tool from the passenger safety belt retractor pretensioner electrical connector.







10. Connect the passenger safety belt retractor pretensioner electrical connector.







11. Align the passenger side B-pillar lower trim panel and push in, seating the retaining clips.







12. Install the passenger side B-pillar weather-stripping.







13. Install the passenger side rear door scuff plates.







14. Install the passenger side front door scuff plate.

Vehicles with side air bags







15. Remove the restraint system diagnostic tool from the passenger seat side air bag module electrical connector.







16. Connect the passenger seat side air bag module electrical connector, located at the lower rear of the seat cushion pan.

All Vehicles
17. Connect the battery ground cable.
18. Position the front seats rearward.

19. WARNING: To avoid accidental deployment and possible personal injury, the backup power supply must be depleted before repairing or replacing any front or side air bag supplemental restraint system (SRS) components and before servicing, replacing, adjusting or striking components near the front or side air bag sensors, such as doors, instrument panel, console, door latches, strikers, seats and hood latches.

The side air bag sensors are located at or near the base of the B-pillar.

To deplete the backup power supply energy, disconnect the battery ground cable and wait at least one minute. Be sure to disconnect auxiliary batteries and power supplies (if equipped).


Disconnect the battery ground cable and wait at least one minute.







20. Remove the restraint system diagnostic tool from the passenger air bag module electrical connector.







21. Position the passenger air bag module to the instrument panel. Connect the passenger air bag module electrical connector.







22. Install the passenger air bag module into the instrument panel.
1 Install the passenger air bag module into the instrument panel.
2 Install the bolts.







23. Through the glove compartment opening, install the passenger air bag module bolts.







24. Install the trim panel.
1 Connect the rear window defrost switch electrical connector.
2 Connect the clock electrical connector.
3 Align the trim panel to the instrument panel and push in seating the retaining clips.

25. Connect the glove compartment isolator. Close the glove compartment.







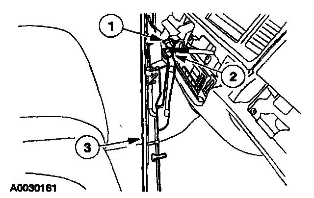
26. Remove the restraint system diagnostic tool from the clockspring electrical connector.







27. Connect the clockspring electrical connector at the base of the steering column.







28. Install the LH lower instrument panel insulator.
1 Install the courtesy lamp.
2 Slide the LH lower instrument panel insulator into the front retaining bracket (not shown).
3 Install the pin-type retainers.







29. Position the steering column opening lower reinforcement. Install the bolts.







30. Install the steering column opening lower finish panel.
1 Align the steering column opening lower finish panel and push in, seating the retaining clips.
2 Position the parking brake release assembly.
3 Install the screws.

31. Connect the battery ground cable.

32. WARNING: The restraint system diagnostic tool is for restraint system service only. Remove from vehicle prior to road use. Failure to remove could result in injury and possible violation of vehicle safety standards.

With all the restraint system diagnostic tools removed, prove out the supplemental restraint system (SRS). Prove Out Procedure

33. Check the active restraint system for correct operation.