Operation CHARM: Car repair manuals for everyone.
Manuals through 2025 now available!

Our trusted friends have launched a new website named LEMON, which has newer manuals. It also contains all the CHARM manuals.

LEMON is the spiritual successor to CHARM, I recommend you try it!

Link: lemon-manuals.la or lemon-manuals.org.ua

(Some people have issue connecting. LEMON is investigating. For now, use Firefox or change your DNS server)

Or, hide this message: temporarily or permanently

Disassembly

Engine








Special Tool(s)





Material

1. CAUTION: Servicing the bottom end of the engine (crankshaft, bearings) requires that cylinder heads be removed. Failure to do so can result in engine damage.

Remove the engine.





2. Remove the bolts and the flexplate or the flywheel.





3. Using the special tools, remove the crankshaft oil Slinger.





4. Using the special tools, remove the crankshaft rear seal.





5. Remove the bolts and the crankshaft rear seal retainer plate.

6. CAUTION: To prevent damage to the oil pan, use care when lowering the engine.

Lower the engine onto wooden blocks.





7. Remove the special tool.





8. Install the special tool.





9. Install the special tool.
10. Mount the engine on a suitable work stand.





11. Remove the special tool.





12. Remove the special tool.





13. NOTE: RH shown, LH similar.

Remove the LH and RH engine mounts.





14. NOTE: LH shown, RH similar.

Remove the cylinder block drain plugs, and drain the coolant in a suitable container.





15. Disconnect the LH radio frequency interference capacitor and Cylinder Head Temperature (CHT) sensor electrical connectors.





16. Disconnect the Camshaft Position (CMP) sensor electrical connector.





17. Disconnect the RH radio frequency interference capacitor electrical connector.





18. Disconnect the knock sensor electrical connector.





19. Disconnect the Crankshaft Position (CKP) sensor electrical connector.





20. Disconnect the oil pressure switch electrical connector.





21. Remove the nuts and position the wiring harness bracket aside.
22. Disconnect all of the harness routing clips and connector retainers. Remove the engine control sensor wiring harness.





23. NOTE: RH shown, LH similar.

Remove the nuts and the two radio interference capacitors.





24. Remove the crankcase ventilation tube from the LH valve cover.





25. Remove the Positive Crankcase Ventilation (PCV) valve and hose from the RH valve cover.





26. CAUTION: Do not use metal scrapers, wire brushes, power abrasive discs or other abrasive means to clean the sealing surfaces. These tools cause scratches and gouges which make leak paths. Use a plastic scraping tool to remove all traces of old sealant.

NOTE: The bolts are part of the valve cover and should not be removed.

Remove the LH valve cover.
^ Fully loosen the bolts and remove the valve cover.
^ Clean the valve cover mating surface of the cylinder head with silicone gasket remover and metal surface prep. Follow the directions on the packaging.
^ Inspect the valve cover gasket. If the gasket is damaged, remove and discard the gasket. Clean the valve cover gasket groove with soap and water or a suitable solvent.





27. CAUTION: Do not use metal scrapers, wire brushes, power abrasive discs or other abrasive means to clean the sealing surfaces. These tools cause scratches and gouges which make leak paths. Use a plastic scraping tool to remove all traces of old sealant.

NOTE: The bolts are part of the valve cover and should not be removed.

Remove the RH valve cover.
^ Fully loosen the bolts and remove the valve cover.
^ Clean the valve cover mating surface of the cylinder head with silicone gasket remover and metal surface prep. Follow the directions on the packaging.
^ Inspect the valve cover gasket. If the gasket is damaged, remove and discard the gasket. Clean the valve cover gasket groove with soap and water or a suitable solvent.





28. Remove the bolt and the belt idler pulley.





29. Remove the coolant pump pulley.
1 Remove the bolts.
2 Remove the coolant pump pulley.





30. Remove and discard the crankshaft pulley bolt.
^ Use the special tool to remove the crankshaft pulley.





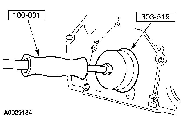
31. Use the special tool to remove the crankshaft front oil seal.





32. Remove the bolts.





33. NOTE: Correct fastener location is essential for assembly procedure. Record fastener location.

Remove the fasteners.





34. Remove the engine front cover from the cylinder block.





35. Remove the crankshaft sensor ring from the crankshaft.

36. CAUTION: Use care when removing the spark plugs.

NOTE: Use compressed air to remove any foreign material from the spark plug well before removing the spark plugs.

Remove the eight spark plugs.





37. Install the special tool between the valve spring coils to prevent valve stem seal damage.





38. NOTE: The camshaft roller followers must be reinstalled in their original locations. Record the camshaft roller follower locations.

NOTE: Position the cam lobe away from the camshaft roller follower prior to removing each camshaft roller follower.

Use the special tool to compress the valve springs, and remove the camshaft roller followers.





39. Remove the special tool.





40. Position the crankshaft with the keyway at the 12 o'clock position.





41. Remove the timing chain tensioning system from both timing chains.
1 Remove the bolts.
2 Remove the timing chain tensioners.
3 Remove the timing chain tensioner arms.





42. Remove the RH and LH timing chains and the crankshaft sprocket(s).
^ Remove the RH timing chain from the camshaft sprocket.
^ Remove the RH timing chain from the crankshaft sprocket.
^ Remove the LH timing chain from the camshaft sprocket.
^ Remove the LH timing chain and crankshaft sprocket(s).





43. Remove both timing chain guides.
^ Remove the bolts.
^ Remove both timing chain guides.





44. Remove the nuts and the RH exhaust manifold and gasket.
1 Remove the nuts.
2 Remove the RH exhaust manifold.
3 Remove the RH exhaust manifold gasket.





45. Remove the nuts and the LH exhaust manifold and gasket.
^ Discard the LH exhaust manifold gasket.





46. Remove the bolt and the oil level indicator tube.
47. Clean and inspect the exhaust manifolds.





48. Install the special tools on both ends of the cylinder head.





49. NOTE: The hydraulic lash adjusters must be reinstalled in their original locations. Record the hydraulic lash adjuster locations.

Remove the hydraulic lash adjusters.





50. CAUTION: The cylinder head must be cool before removing it from the engine. Cylinder head warpage can result if a warm or hot cylinder head is removed.

CAUTION: Place clean shop towels over exposed engine cavities. Carefully remove the towels so foreign material is not dropped into the engine.

CAUTION: The cylinder head bolts must be discarded and new bolts installed. They are tighten-to-yield designed and cannot be reused.

CAUTION: Do not use metal scrapers, wire brushes, power abrasive discs or other abrasive means to clean the sealing surfaces. These tools cause scratches and gouges that make leak paths. Use a plastic scraping tool to remove all traces of the head gasket.

CAUTION: Aluminum surfaces are soft and can be scratched easily. Never place the cylinder head gasket surface, unprotected, on a bench surface.

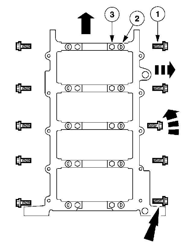
Remove the bolts and the RH cylinder head.
^ Discard the cylinder head gasket.
^ Discard the cylinder head bolts.





51. CAUTION: The cylinder head must be cool before removing it from the engine. Cylinder head warpage can result if a warm or hot cylinder head is removed.

CAUTION: Place clean shop towels over exposed engine cavities. Carefully remove the towels so foreign material is not dropped into the engine.

CAUTION: The cylinder head bolts must be discarded and new bolts installed. They are tighten-to-yield designed and cannot be reused.

CAUTION: Do not use metal scrapers, wire brushes, power abrasive discs or other abrasive means to clean the sealing surfaces. These tools cause scratches and gouges that make leak paths. Use a plastic scraping tool to remove all traces of the head gasket.

CAUTION: Aluminum surfaces are soft and can be scratched easily. Never place the cylinder head gasket surface, unprotected, on a bench surface.

Remove the bolts and the LH cylinder head.
^ Discard the cylinder head gasket.
^ Discard the cylinder head bolts.

52. CAUTION: Do not use metal scrapers, wire brushes, power abrasive discs or other abrasive means to clean the sealing surfaces. These tools cause scratches and gouges that make leak paths. Use a plastic scraping tool to remove all traces of the head gasket.

CAUTION: Observe all warnings or cautions and follow all application directions contained on the packaging of the silicone gasket remover and the metal surface prep.

NOTE: If there is no residual gasket material present, metal surface prep can be used to clean and prepare the surfaces.

Clean the cylinder head-to-cylinder block mating surfaces of both the cylinder head and the cylinder block.
1 Remove any large deposits of silicone or gasket material with a plastic scraper.
2 Apply silicone gasket remover, following package directions, and allow to set for several minutes.
3 Remove the silicone gasket remover with a plastic scraper. A second application of silicone gasket remover may be required if residual traces of silicone or gasket material remain.
4 Apply metal surface prep, following package directions, to remove any remaining traces of oil or coolant, and to prepare the surfaces to bond with the new gasket. Do not attempt to make the metal shiny. Some staining of the metal surfaces is normal.





53. NOTE: Make sure all cylinder head surfaces are clear of any gasket material, RTV, oil, and coolant. The cylinder head surface must be clean and dry before running a flatness check.

NOTE: Use a straightedge that is calibrated by the manufacturer to be flat with 0.005 mm (0.0002 inch) per running foot length. For example, if the straightedge is 61 cm (24 inch) long, the machined edge must be flat with 0.010 mm (0.0004 inch) from end to end.

NOTE: LH is shown, RH is similar.

Support the cylinder head on a bench with the head gasket side up. Inspect all areas of the deck face with a straightedge, paying particular attention to the oil pressure feed area. The cylinder head must not have depressions deeper than 0.0254 mm (0.001 inch) across a 38.1 mm (1.5 inch) square area, or scratches more than 0.0254 mm (0.001 inch).





54. If required, remove the nut and four bolts retaining the oil filter adapter and oil filter gasket to the cylinder block.





55. Clean the oil filter adapter gasket surface at the cylinder block.





56. Remove the bolts.





57. Remove the coolant pump from the cylinder block.
58. Before removing the pistons, inspect the top of the cylinder bores. If necessary, remove the ridge or carbon deposits from each cylinder using an abrasive pad or equivalent, following the manufacturer's instructions.





59. Remove the bolts, oil pan and oil pan gasket.
^ Clean and inspect the sealing surfaces.





60. Remove the bolts and the oil pump screen and pickup tube.





61. Remove the oil pump screen and pickup tube spacer.





62. Remove the oil pump.
1 Remove the bolts.
2 Remove the oil pump.





63. CAUTION: Verify that the connecting rods and rod caps have orientation numbers case into them. If not, number the connecting rods and rod caps for correct orientation.

Remove the bolts and the connecting rod caps. Discard the bolts.





64. CAUTION: Do not scratch the cylinder walls or crankshaft journals with the connecting rod.

Use the special tool to push the piston through the top of the cylinder block.





65. CAUTION: Servicing the bottom end of the engine (crankshaft, bearings) requires that cylinder heads be removed. Failure to do so can result in engine damage.

Remove the fasteners.
1 Remove and discard the cross-mounted main cap bolts.
2 Remove the dowels.
3 Remove and discard the main bearing cap bolts.





66. Remove the five main bearing caps, the lower crankshaft main bearings and the lower thrust washer.





67. Remove the crankshaft, the upper crankshaft main bearings and the upper thrust washers from the cylinder block.