Operation CHARM: Car repair manuals for everyone.
Manuals through 2025 now available!

Our trusted friends have launched a new website named LEMON, which has newer manuals. It also contains all the CHARM manuals.

LEMON is the spiritual successor to CHARM, I recommend you try it!

Link: lemon-manuals.la or lemon-manuals.org.ua

(Some people have issue connecting. LEMON is investigating. For now, use Firefox or change your DNS server)

Or, hide this message: temporarily or permanently

Shifter Transfer Case: Service and Repair

Transfer Case Shift Lever

Removal
1. Shift the transfer case into 4H.





2. Remove the screws that attach the bezel and boot assembly to the floor.





3. Remove the bolt that attaches the shift lever to the transfer case control lever assembly, and remove the shift lever, and the bezel and boot assembly.
1 Slide the bezel and boot assembly upward on the shift lever.
2 Remove the bolt, the shift lever, and the bezel and boot assembly.
4. Raise and support the vehicle.





5. Disconnect the control rod from the lower shifter arm.





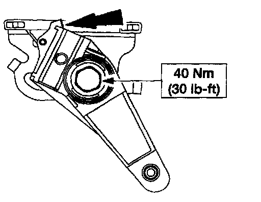
6. Remove the bolt and the transfer case control lever assembly. Discard the bolt.

Installation





1. CAUTION: Do not tighten the bolt that attaches the transfer case control lever assembly to the transmission case at this time.

Align the new transfer case control lever assembly pivot bolt over the correct mounting hole in the transmission case and start the bolt into the threaded hole by hand.
1 For vehicles with a gasoline engine and manual transmission, or a diesel engine and manual or automatic transmission, install the new bolt in the forward (LH) threaded hole in the transmission case.
2 For vehicles with a gasoline engine and automatic transmission, install the new bolt in the rearward (RH) threaded hole in the transmission case.
2. Position the second bolt in the unused threaded hole in the transmission case.
^ For vehicles with a gasoline engine and manual transmission, or a diesel engine and manual or automatic transmission, position the pin in the rearward (RH) threaded hole in the transmission case.
^ For vehicles with a gasoline engine and automatic transmission, position the pin in the forward (LH) threaded hole in the transmission case.





3. CAUTION: Verify that the control rod is still attached correctly to the transfer case.

CAUTION: Verify that the transfer case is still in 4H.

Connect the control rod to the lower shifter arm.





4. CAUTION: Make sure the transfer case is in 4H. Hold the control lever against the 4H detent while tightening the bolt. This will ensure correct transfer case gear engagement during transfer case operation.

Hold the control lever against the 4H detent while tightening the bolt.
5. Lower the vehicle.





6. Position the shift lever with the bezel and boot assembly and install the bolt.





7. Position the bezel and boot assembly and install the screws.
8. Verify the shift sequence from 2H to 4L to 2H.