Operation CHARM: Car repair manuals for everyone.
Manuals through 2025 now available!

Our trusted friends have launched a new website named LEMON, which has newer manuals. It also contains all the CHARM manuals.

LEMON is the spiritual successor to CHARM, I recommend you try it!

Link: lemon-manuals.la or lemon-manuals.org.ua

(Some people have issue connecting. LEMON is investigating. For now, use Firefox or change your DNS server)

Or, hide this message: temporarily or permanently

With Remote Audio/Climate Control

SPEED CONTROL SWITCH - WITH REMOTE AUDIO/CLIMATE CONTROL

REMOVAL

All vehicles
1. Remove the driver side air bag module.

Expedition







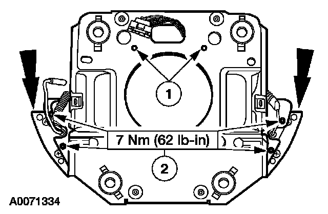
2. Remove the speed control switch.
1 Disconnect the electrical connector.
2 Remove the screws.

Navigator







3. Remove the horn switch.
1 Disconnect the electrical connector.
2 Remove the bolts.







4. Remove the speed control switch.
1 Disconnect the wiring harness locators.
2 Remove the screws.

INSTALLATION

All vehicles
1. To install, reverse the removal procedure.