Operation CHARM: Car repair manuals for everyone.
Manuals through 2025 now available!

Our trusted friends have launched a new website named LEMON, which has newer manuals. It also contains all the CHARM manuals.

LEMON is the spiritual successor to CHARM, I recommend you try it!

Link: lemon-manuals.la or lemon-manuals.org.ua

(Some people have issue connecting. LEMON is investigating. For now, use Firefox or change your DNS server)

Or, hide this message: temporarily or permanently

Part 2

Engine Continued





47. Position the crankshaft sensor ring on the crankshaft.





48. NOTE: If the bolt is not secured within four minutes, the sealant must be removed and the sealing area cleaned with metal surface cleaner. Failure to follow this procedure can cause future oil leakage.

Apply a bead of silicone gasket and sealant along the head-to-block surface as specified.





49. Install new engine front cover gaskets on the engine front cover. Position the engine front cover. Install the fasteners finger-tight.











50. Tighten the front cover bolts and stud bolts in the sequence shown.





51. Lubricate the front cover and the front oil seal inner 1ip with clean engine oil.





52. Using the special tool, install the front oil seal to the engine front cover.





53. NOTE: If not secured within four minutes, sealant must be removed and the sealing area cleaned with metal surface cleaner. Failure to follow this procedure can cause future oil leakage.

Apply silicone gasket and sealant to the Woodruff key slot on the crankshaft pulley.





54. Using the special tool, install the crankshaft pulley.





55. NOTE: Use special tool 303-D055 to hold the crankshaft pulley. Install the bolt and washer. Tighten the bolt in four stages.

^ Stage 1: Tighten to 90 Nm (66 ft. lbs.).
^ Stage 2: Loosen 360 degrees.
^ Stage 3: Tighten to 50 Nm (37 ft. lbs.).
^ Stage 4: Tighten an additional 90 degrees.





56. Rotate the camshaft until the lobe is in the upward position.





57. Install the special tool between the valve spring coils to prevent valve stem seal damage.





58. Use the special tool to compress the valve spring and install the camshaft roller followers.





59. Install the spark plugs.
60. Inspect the LH valve cover gasket. If the gasket is damaged, remove and discard the gasket. Clean the valve cover gasket groove with soap and water or a suitable solvent.





61. If a new gasket is being installed, apply instant adhesive completely around the gasket groove in the valve cover.





62. NOTE: If not secured within four minutes, sealant must be removed and the sealing area cleaned with metal surface cleaner. Failure to follow this procedure can cause future oil leakage.

Apply silicone gasket and sealant to the left valve cover gasket surface, in two places, where the engine front cover meets the cylinder head.





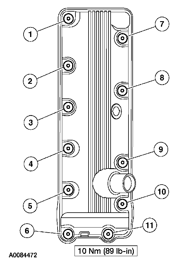
63. Install the left valve cover and tighten the bolts in the sequence shown.
64. Inspect the RH valve cover gasket. If the gasket is damaged, remove and discard the gasket. Clean the valve cover gasket groove with soap and water or a suitable solvent.





65. If a new gasket is being installed, apply instant adhesive completely around the gasket groove in the valve cover.





66. NOTE: If not secured within four minutes, sealant must be removed and the sealing area cleaned with metal surface cleaner. Failure to follow this procedure can cause future oil leakage.

Apply silicone gasket and sealant to the right valve cover gasket surface, in two places, where the engine front cover meets the cylinder head.





67. Install the right valve cover and tighten the bolts in the sequence shown.





68. Install the oil pump screen cover and tube spacer.





69. NOTE: Oil scraper not shown for clarity.

Position the oil pump screen cover and tube and install the bolts.





70. NOTE: If the rear crankshaft seal retaining plate is not secured within four minutes, the sealant must be removed and the sealing area cleaned with metal surface cleaner. Allow to dry until there is no sign of wetness, or four minutes, whichever is longer. Failure to follow this procedure can cause future oil leakage.

NOTE: The silicone must be applied on the groove along the retainer plate.

Apply a 4 mm (0.16 inch) bead of silicone gasket and sealant around the rear oil seal retainer sealing surface.





71. Install the rear oil seal retainer and loosely install the six bolts.





72. Tighten the bolts in the sequence shown.





73. NOTE: If the oil pan is not secured within four minutes, the sealant must be removed and the sealing areas cleaned with metal surface cleaner. Failure to follow this procedure can cause future oil leakage.

Apply silicone gasket and sealant in two places.





74. NOTE: If the oil pan is not secured within four minutes, the sealant must be removed and the sealing areas cleaned with metal surface cleaner. Failure to follow this procedure can cause future oil leakage.

Apply silicone gasket and sealant in two places.





75. Position the new oil pan gasket and the oil pan and loosely install the bolts.





76. Tighten the bolts in three stages, in the sequence shown.
^ Stage 1: Tighten to 2 Nm (18 inch lbs.).
^ Stage 2: Tighten to 20 Nm (15 ft. lbs.).
^ Stage 3: Tighten an additional 60 degrees.





77. Install the RH engine support insulator bracket and the bolts.





78. Install the LH engine support insulator bracket and the bolts.





79. Install the coolant tube and the nut.
^ Inspect and install new O-ring seals as necessary.
^ Lubricate the O-ring seals with clean engine coolant.





80. Install the knock sensor (KS) and the bolts.





81. Connect the heater coolant hose.





82. Install the ground wire and bolt.





83. Install new intake manifold gaskets.





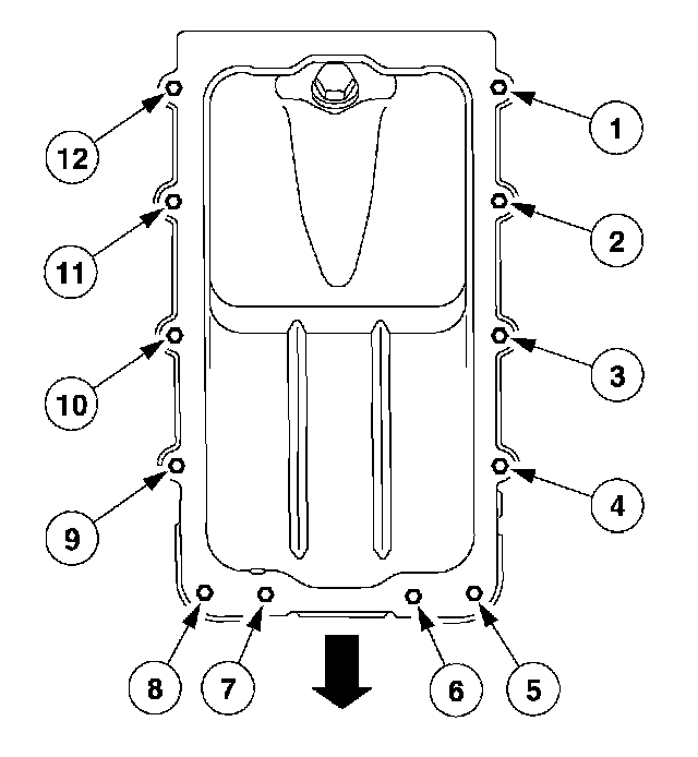
84. Install the intake manifold and tighten the bolts in the sequence shown.