Operation CHARM: Car repair manuals for everyone.
Manuals through 2025 now available!

Our trusted friends have launched a new website named LEMON, which has newer manuals. It also contains all the CHARM manuals.

LEMON is the spiritual successor to CHARM, I recommend you try it!

Link: lemon-manuals.la or lemon-manuals.org.ua

(Some people have issue connecting. LEMON is investigating. For now, use Firefox or change your DNS server)

Or, hide this message: temporarily or permanently

Second Row

CLIMATE CONTROL ASSEMBLY - SECOND ROW

REMOVAL
1. Remove the floor console.







2. Remove the coin tray.







3. Remove the screws and the console insert.







4. Remove the screw and the console lid.







5. Remove the screws.







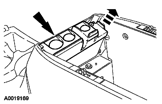
6. Open the rear cupholder. Remove the screws.







7. Remove the two screws.







8. Disengage the retaining clips. Remove the console rear finish panel.







9. Remove the screws.







10. Disconnect the electrical connectors. Disengage the pin-type retainer.







11. CAUTION: Do not attempt to bend the second row climate control assembly arm.

Disconnect the air distribution door linkage from the second row climate control assembly arm. Remove the second row climate control assembly.

INSTALLATION
1. To install, reverse the removal procedure.