Operation CHARM: Car repair manuals for everyone.
Manuals through 2025 now available!

Our trusted friends have launched a new website named LEMON, which has newer manuals. It also contains all the CHARM manuals.

LEMON is the spiritual successor to CHARM, I recommend you try it!

Link: lemon-manuals.la or lemon-manuals.org.ua

(Some people have issue connecting. LEMON is investigating. For now, use Firefox or change your DNS server)

Or, hide this message: temporarily or permanently

Air Flow Meter/Sensor: Service and Repair

MASS AIR FLOW (MAF) SENSOR

REMOVAL







1. Loosen the air cleaner outlet tube clamp and position the tube aside.







2. Disconnect the mass air flow (MAF) sensor electrical connector.







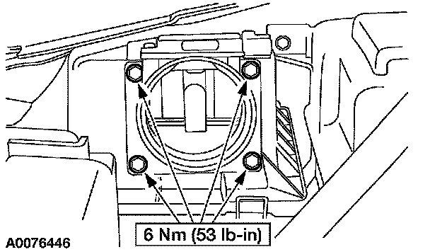
3. CAUTION: The MAF sensor electronics module and body are calibrated as a unit and must be replaced as a unit. Do not tamper with the sensing elements located in the air flow bypass of the MAF body.

Remove the four bolts and the MAF sensor.

INSTALLATION
1. To install, reverse the removal procedure.