Operation CHARM: Car repair manuals for everyone.
Manuals through 2025 now available!

Our trusted friends have launched a new website named LEMON, which has newer manuals. It also contains all the CHARM manuals.

LEMON is the spiritual successor to CHARM, I recommend you try it!

Link: lemon-manuals.la or lemon-manuals.org.ua

(Some people have issue connecting. LEMON is investigating. For now, use Firefox or change your DNS server)

Or, hide this message: temporarily or permanently

Rear Door Window Regulator: Service and Repair

REAR DOOR WINDOW REGULATOR AND MOTOR

REMOVAL
1. Remove the rear door speaker.







2. Remove the side impact bolster.







3. Position the door latch release handle aside.







4. CAUTION: Do not touch the adhesive surface, as re-bonding will be impaired.

Remove the watershield.







5. Connect the window operating switch electrical connector.







6. Align the regulator clamp with the access hole.







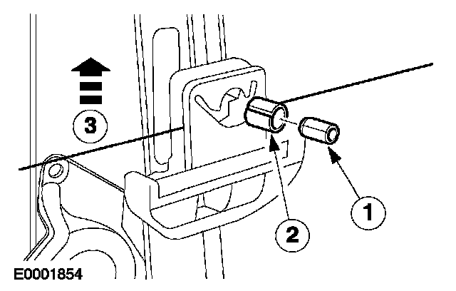
7. Remove the window glass from the regulator clamp.
1 Push out the pin.
2 Push out the sleeve.
3 Remove the window glass from the regulator clamp.







8. CAUTION: Make sure the window glass is adequately supported at the top of the opening.

Using suitable hooks, raise and secure the window glass.







9. Disconnect the window operating switch electrical connector.







10. Disconnect the motor electrical connector.







11. Remove the bolts and the motor and window regulator.

INSTALLATION
1. To install, reverse the removal procedure.