Operation CHARM: Car repair manuals for everyone.
Manuals through 2025 now available!

Our trusted friends have launched a new website named LEMON, which has newer manuals. It also contains all the CHARM manuals.

LEMON is the spiritual successor to CHARM, I recommend you try it!

Link: lemon-manuals.la or lemon-manuals.org.ua

(Some people have issue connecting. LEMON is investigating. For now, use Firefox or change your DNS server)

Or, hide this message: temporarily or permanently

Disassembly





Special Tool(s)





Material

Disassembly

1. CAUTION: If, during repair work, abrasive particles are found in the transaxle fluid (particles from the clutch or metal chips or foreign material), the transaxle must be disassembled completely and thoroughly cleaned. Also, clean the fluid pipes, fluid cooler and torque converter carefully. In the case of extreme soiling of the fluid pipes, install a new fluid cooler and torque converter.

NOTE: In case of clutch abrasion, rinse the torque converter with clean automatic transmission fluid.

Inspect the transaxle during disassembly.





2. Remove the output shaft speed (OSS) sensor.
1. Remove the bolt.
2. Remove the OSS.





3. Remove the turbine shaft speed (TSS) sensor.





4. CAUTION: Do not use air tools.

While holding the lever, remove the manual control lever.





5. Remove the transmission range (TR) sensor.





6. Remove the special tool.





7. CAUTION: Do not tilt the torque converter when removing it, to prevent damaging the torque converter hub.

NOTE: The torque converter is filled with fluid. Drain into a suitable container.

Using the special tool, remove the torque converter.





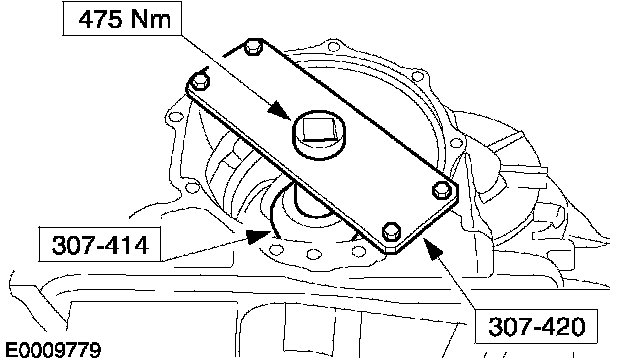
8. Using the special tool, mount the transaxle to a bench.





9. Remove the bolts.





10. Using the two 10 mm bolts, remove the fluid pump.





11. Remove the fluid pump seals.





12. Remove the forward clutch thrust washer.





13. Remove the forward clutch assembly.





14. NOTE: Small levers will aid in the removal of the forward clutch hub.

Remove the forward clutch hub.
15. Rotate the transaxle 180 degrees.





16. Remove the end cover.
17. Clean the silicone from the end cover and transaxle case surfaces thoroughly with metal surface cleaner.





18. Remove the direct clutch hub bearing shim.





19. Remove the end cover seals.





20. Remove the end cover to case seals.





21. Remove the direct clutch cylinder thrust bearing.





22. Remove the intermediate/overdrive band anchor bolt.





23. Remove the intermediate/overdrive band.





24. Remove the intermediate/overdrive drum assembly.





25. Remove the planet gear assembly.





26. Remove the low/reverse clutch plate retaining ring.





27. Remove the low/reverse clutch plates, pressure plate and bevel ring.





28. Remove the low one-way clutch retaining ring.





29. Remove the low one-way clutch inner race.





30. Remove the low/reverse clutch return spring.





31. Remove the low/reverse clutch piston.





32. Using the special tool, remove the transaxle fluid pan.
1. Remove the bolts.
2. Using the special tool, remove the transaxle fluid pan.
33. Clean the silicone from the transaxle fluid pan and transaxle case surfaces thoroughly with metal surface cleaner.





34. Disconnect the transmission fluid temperature (TFT) sensor.





35. Remove the fluid filter.





36. NOTE: It is necessary to note the location of the main control wire harness connectors so they can be connected in the same positions. Connector color letters are cast into the solenoid body.

Remove the ground wire bolt, disconnect the electrical connectors and remove the wire harness.
1. Solenoid SSC; Color N (Neutral).
2. Solenoid SSE; Color G (Green).
3. Solenoid SSD; Color L (Blue).
4. Solenoid EPC; Color B (Black).
5. Solenoid SSA; Color N (Neutral).
6. Solenoid SSB; Color B (Black).





37. NOTE: Note the locations of the longer bolts.

Remove the 13 main control valve body bolts.





38. NOTE: Squeeze the tabs on the side of the electrical connector.

Remove the transaxle internal harness electrical connector.





39. NOTE: Each accumulator has two springs. All four springs are different sizes.

NOTE: Note the size and location of the accumulator springs to aid assembly.

NOTE: Accumulator bore and pistons are a match as to depth, some piston may have steps. Install new pistons in the same bore as removed.

Remove the accumulator pistons and springs.





40. Remove the manual lever shaft roll pin.





41. Remove the manual lever shaft.





42. Remove the O-ring seals from the manual lever shaft.





43. Remove the control lever assembly.





44. CAUTION: The intermediate/overdrive band servo cover plate is spring loaded. The bolts should be removed evenly until plate is unloaded, then remove the bolts.

Remove the three intermediate/overdrive piston servo cover bolts and the servo cover.





45. Remove the O-ring seal.





46. Remove the intermediate/overdrive servo piston.





47. Remove the intermediate/overdrive servo piston return spring.
48. Rotate the transaxle 180 degrees.





49. Remove the bolts and separate the converter housing from the transaxle case.





50. Remove the differential assembly.





51. Remove the parking pawl assembly cover.
1. Remove the bolts.
2. Remove the parking pawl assembly cover.





52. Remove the parking pawl abutment.
1. Unclip the spring.
2. Remove the pin.
3. Remove the lever.
4. Remove the parking pawl abutment.





53. Remove the spring.





54. Remove the transfer shaft gears.





55. Using the special tool, lock the final drive input gear.
56. Rotate the transaxle 180 degrees.





57. NOTE: Release the locking sleeve away from the final drive input gear bearing retainer nut.

Using the special tools, remove the final drive input gear bearing retainer nut.
58. Remove the special tools.
59. Rotate the transaxle 180 degrees.





60. Remove the special tool.

61. CAUTION: Hold the final drive input gear while removing the bearing to prevent it from falling out of the transaxle case.

Rotate the transaxle 180 degrees.





62. Remove the final drive input gear bearing by lightly tapping on the end of the gear.





63. Remove and discard the collapsible spacer.





64. WARNING: Wear eye protection when working with the chisel as the cutting operation may produce splinters. Failure to follow this instruction may result in personal injury.

Using a suitable chisel, remove the final drive input gear bearing.





65. Using the special tools, remove the final drive input rear bearing inner race.
66. Clean the converter housing and transaxle case surfaces thoroughly with metal surface cleaner.