Operation CHARM: Car repair manuals for everyone.
Manuals through 2025 now available!

Our trusted friends have launched a new website named LEMON, which has newer manuals. It also contains all the CHARM manuals.

LEMON is the spiritual successor to CHARM, I recommend you try it!

Link: lemon-manuals.la or lemon-manuals.org.ua

(Some people have issue connecting. LEMON is investigating. For now, use Firefox or change your DNS server)

Or, hide this message: temporarily or permanently

Assembly

Part 1:




Part 2:




Part 3:





Special Tool(s)





Material

Assembly

1. CAUTION: Bearing races require a heating and cooling procedure and special tools for installation. This procedure must be followed to provide accurate preload measurements.

Clean and check all parts carefully before assembly.
- All sliding parts should be lubricated with manual transmission fluid.





2. NOTE: Heat the transaxle housing to approximately 80°C (175°F).

Install the reverse gear idler shaft.
1. Apply Sealer to the reverse gear idler shaft plate mating face.
2. Align the reverse gear idler shaft plate using the longer locating bolt and drive it in.
3. Remove the locating bolt and install the original bolts.





3. CAUTION: The press pressure must not exceed 15 kN.

Using the special tools, install the bearing cups on the transaxle housing side.
- Heat the housing area to approximately 80°C (175°F).
- Cool the bearing cups and install them.
- Install the bearing cups of the:
- Input shaft using 205-153, 303-420 and 205-267
- Output shaft using 205-153 and 308-046-01
- Differential using 205-153 and 308-121

4. CAUTION: Press the bearing races down again. The press pressure must not exceed 15 kN.

Measuring shim to be installed:
- Input shaft: 1.00 mm.
- Output shaft: 1.00 mm.
- Differential: 1.10 mm.





5. CAUTION: The press pressure must not exceed 15 kN.

Install the measuring shims and the bearing cups in the housing section at the clutch end.
- Heat the housing area to approximately 80°C (175°F).
- Cool the bearing cups.

1. Install the measuring shims.
2. Install the bearing cups.

- Install the bearing cups of the:
- Input shaft using 205-153 and 308-221.
- Output shaft using 205-153 and 308-046-01.
- Differential using 205-153 and 308-121.





6. NOTE: Do not oil taper roller bearings which are to be used again. New taper roller bearings can be installed without any treatment.

Engage the fourth gear synchronizer on the input shaft.





7. Assemble the input and output shafts together and put them in the transaxle case as an assembly.





8. NOTE: Do not oil taper roller bearings which are to be used again. New taper roller bearings can be installed without any treatment.

Install the differential assembly.





9. Position the housing and tighten the sixteen flange bolts uniformly.





10. Using the special tool, prepare the input shaft for measuring.
- Turn the input shaft back and forth to settle the bearings using the special tool.





11. Install the special tool on the transaxle housing and set it to zero.





12. NOTE: Carry out the measurement including the preparation three times and calculate the average measurement.

Measure the input shaft end float.
1. Lift the input shaft with a lever.
2. Note the resulting measurement.
- Example: 0.22 mm + 0.23 mm + 0.21 mm divided by three = 0.22 mm.





13. Using the special tools, prepare the output shaft for measuring.
- Turn the input shaft back and forth to settle the bearings using the special tool.





14. Install the special tool.
1. Position the special tool.
2. Install the bolts.
3. Position the special tool on the fourth gear.





15. NOTE: Carry out the measurement including the preparation three times and calculate the average measurement.

Measure the output shaft end float
- Lift the output shaft with a lever and note the resulting measurement, e.g. 0.32 mm.
- Example: 0.32 m + 0.34 mm + 0.33 mm divided by three = 0.33 mm.





16. NOTE: Carry out the measurement including the preparation three times and calculate the average measurement.

Using the special tools, prepare the differential for measuring.
- Using the special tools, turn the output shaft back and forth and at the same time press down.
- Set up the special tool and set it to zero.





17. Using the special tools, measure the differential end float.
- Note the resulting measurement.
18. Select the correct shim(s) for the differential, input shaft and output shaft. For additional information, refer to Specifications.





19. Using the special tools, remove the bearing outer races and shim of the differential, the input shaft and the output shaft again.
- Locate the special tool in the housing recesses.





20. CAUTION: The press pressure must not exceed 15 kN.

Install the selected shims and the bearing cups in the housing section at the clutch end.
- Heat the housing area to approximately 80°C (175°F).
- Cool the bearing cups.

1. Install the selected shims.
2. Install the bearing cups.
- Install the bearing cups of the:
^ Input shaft using 205-153 and 308-21.
^ Output shaft using 205-153 and 308-046-01.
^ Differential using 205-153 and 308-121.





21. Install the reverse idler gear.
1. Lower thrust washer.
2. Needle roller bearing.
3. Reverse idler gear (smaller collar facing downwards).
4. Upper thrust washer.
5. Snap-ring.





22. Install the input shaft and the output shaft.





23. NOTE: Make sure the fourth gear selector ring is in the neutral position.

Install the fifth reverse gear selector fork and position it to the side.





24. Install the third/fourth gear selector fork.





25. NOTE: When installed correctly, the selector rods are the same height.

Install the first/second gear selector fork and rods.





26. Install the differential assembly and the magnetic disk.





27. Treat the mating face with sealer.
- The mating face must be dry. Sealer must be applied in an even coating to the inside of the mating face. (The even bead of sealer should have a diameter of 2 mm).





28. NOTE: The transaxle housing must not be turned over to tighten the bolts.

Install the housing (clutch end).
- Tighten the 16 flange bolts within 15 minutes, working diagonally.





29. NOTE: Make sure the transaxle is in neutral (the gearshift lever and selector lever must be vertical).

Position the selector mechanism and install the bolts.
- Coat the mating face with sealer.





30. Using the special tool, measure the turning torque.
- Engage fourth gear.
- Measure the turning torque.
- If the turning torque is too high, all the measurements (to establish the required shim thickness) must be repeated.





31. Install the vehicle speed sensor (VSS).





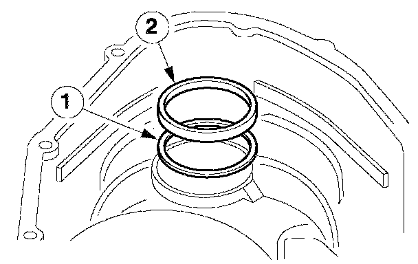
32. Using the special tools, install the differential oil seals.





33. CAUTION: If brake fluid is spilt on the paintwork, the affected area must be immediately washed down with cold water.

CAUTION: Using suitable adhesive tape, cover the input shaft splines to prevent damage to the input shaft oil seal.

CAUTION: Do not apply grease on any area of the clutch slave cylinder.

NOTE: Install a new clutch slave cylinder.

Install the slave cylinder with sealer and install it together with a new seal.
- Make sure the seals are correctly installed or it may cause starter failure.
34. Remove the adhesive tape from the input shaft splines.
35. Coat the input shaft splines with a thin layer of high-temperature grease.