Operation CHARM: Car repair manuals for everyone.
Manuals through 2025 now available!

Our trusted friends have launched a new website named LEMON, which has newer manuals. It also contains all the CHARM manuals.

LEMON is the spiritual successor to CHARM, I recommend you try it!

Link: lemon-manuals.la or lemon-manuals.org.ua

(Some people have issue connecting. LEMON is investigating. For now, use Firefox or change your DNS server)

Or, hide this message: temporarily or permanently

Rear Door Window Glass: Service and Repair

REAR DOOR WINDOW GLASS

REMOVAL

All vehicles
1. Remove the rear door speaker.







2. Remove the side impact bolster.







3. Position the door latch release handle aside.







4. CAUTION: Do not touch the adhesive surface, as re-bonding will be impaired.

Remove the watershield.







5. Remove the door glass top run retainer.

Vehicles with manual windows
6. Install the window regulator handle.

Vehicles with power windows







7. Connect the door glass operating switch electrical connector.

All vehicles







8. Align the regulator clamp with the access hole (power window shown).







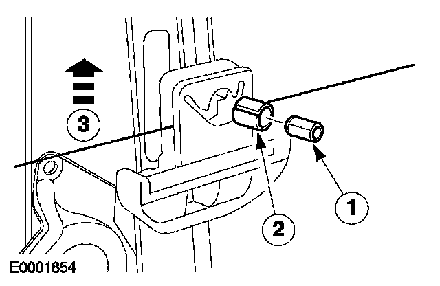
9. Remove the window glass from the regulator.
1 Push out the pin.
2 Push out the sleeve.
3 Remove the glass from the regulator clamp.

10. Support the glass, and lower the glass and regulator to the lowest position.







11. Position the lower part of the door glass top run outside the door.







12. NOTE: To aid removal of the door glass, stand on the inner side of the door. Make sure the glass is removed from the inside of the door.

Remove the window glass.

INSTALLATION
1. To install, reverse the removal procedure.