Operation CHARM: Car repair manuals for everyone.
Manuals through 2025 now available!

Our trusted friends have launched a new website named LEMON, which has newer manuals. It also contains all the CHARM manuals.

LEMON is the spiritual successor to CHARM, I recommend you try it!

Link: lemon-manuals.la or lemon-manuals.org.ua

(Some people have issue connecting. LEMON is investigating. For now, use Firefox or change your DNS server)

Or, hide this message: temporarily or permanently

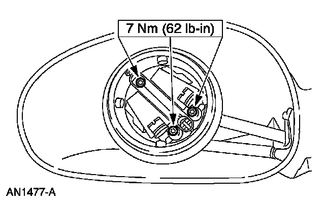
Power Mirror Motor: Service and Repair

MIRROR - MOTOR

REMOVAL







1. Push in the upper edge of the mirror glass to the maximum travel.
2. Grasp the bottom of the mirror glass, pull outward and remove the mirror glass.







3. Remove the mirror motor screws.







4. Disconnect the mirror motor electrical connector.
5. Remove the mirror motor.

INSTALLATION







1. NOTE: When installing the mirror glass, make sure it snaps completely into the mirror motor.

To install, reverse the removal procedure.