Operation CHARM: Car repair manuals for everyone.
Manuals through 2025 now available!

Our trusted friends have launched a new website named LEMON, which has newer manuals. It also contains all the CHARM manuals.

LEMON is the spiritual successor to CHARM, I recommend you try it!

Link: lemon-manuals.la or lemon-manuals.org.ua

(Some people have issue connecting. LEMON is investigating. For now, use Firefox or change your DNS server)

Or, hide this message: temporarily or permanently

Heater Hose: Service and Repair

HEATER HOSE COUPLING


Special Tool(s):






SPECIAL TOOL(S)

DISCONNECT

CAUTION: Do not attempt to install a new bushing, spacer or O-rings in the heater hose coupling; damage to the heater hose coupling can result. If the heater hose coupling is the cause of a coolant leak, the affected heater hose must be replaced as an assembly.

1. WARNING: The engine must be off, fully cool and the cooling system fully depressurized before attempting to disconnect any heater water hoses. Failure to comply with this warning can result in serious injury or burns from hot liquid escaping out of the engine cooling system.

Depressurize the engine cooling system.

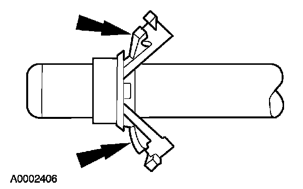
2. Push the heater hose toward the tube to fully expose the locking tabs.







3. NOTE:
- When compressing the white coupling retainer with the special tool, the special tool must be perpendicular to and on the highest point of the coupling.
- If the heater hose coupling is accessible, the retainer tabs can be compressed by hand to disconnect the heater hose.

Push the special tool over the coupling retainer windows to compress the retainer locking tabs.







4. NOTE: A slight twisting motion while pulling on the heater water hose may be necessary to assist in the removal.

Pull the heater hose away from the heater core tube.







5. Spread the retainer tabs apart and slide the retainer off the tube.
- Discard the retainer.

CONNECT
1. Clean the tubes and lubricate with coolant hose lubricant or plain water.







2. Install a new coupling retainer into the heater hose coupling housing.







3. Push the heater hose coupling onto the tube.
4. Make sure the heater hose coupling is fully engaged by lightly pulling on the heater hose.