Operation CHARM: Car repair manuals for everyone.
Manuals through 2025 now available!

Our trusted friends have launched a new website named LEMON, which has newer manuals. It also contains all the CHARM manuals.

LEMON is the spiritual successor to CHARM, I recommend you try it!

Link: lemon-manuals.la or lemon-manuals.org.ua

(Some people have issue connecting. LEMON is investigating. For now, use Firefox or change your DNS server)

Or, hide this message: temporarily or permanently

Shift Interlock Cable: Service and Repair

Removal
1. Raise the vehicle on a hoist.





2. Remove the cable shift from the shifter lever and bracket and discard the clip.





3. Remove the bolt from the cable.





4. Remove the bolt from the cable.





5. Disconnect the transmission range selector lever cable from the TR sensor lever.





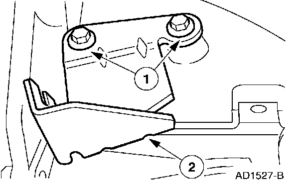
6. Remove the transmission shift cable bracket from the transmission.
1 Remove the bolts.
2 Remove the bracket.

Installation





1. NOTE: It is necessary to install a new plastic clip prior to installation.

To install, reverse the removal procedure.