Operation CHARM: Car repair manuals for everyone.
Manuals through 2025 now available!

Our trusted friends have launched a new website named LEMON, which has newer manuals. It also contains all the CHARM manuals.

LEMON is the spiritual successor to CHARM, I recommend you try it!

Link: lemon-manuals.la or lemon-manuals.org.ua

(Some people have issue connecting. LEMON is investigating. For now, use Firefox or change your DNS server)

Or, hide this message: temporarily or permanently

Compressor Clutch: Service and Repair

CLUTCH AND CLUTCH FIELD COIL


Special Tool(s):






SPECIAL TOOL(S)

REMOVAL
1. Remove the A/C compressor.







2. Remove the bolt.
1 Hold the A/C disc and hub assembly with the special tool.
2 Remove the bolt.







3. Remove the A/C disc and hub assembly and the A/C clutch hub spacer.
1 Thread an 8 x 1.25 mm bolt into the A/C clutch to force it from the compressor shaft.
2 Lift the A/C disc and hub assembly and the A/C clutch hub spacer from the compressor shaft.







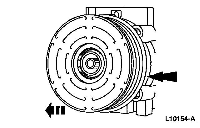
4. Remove the pulley snap ring.







5. Remove the A/C clutch pulley.







6. CAUTION: Do not use air tools. The A/C clutch field coil can be easily damaged.

Remove the A/C clutch field coil.
1 Note the location of the A/C clutch field coil electrical connector.
2 Install the special tool on the nose opening of the A/C compressor.
3 Install the special tool.
4 Remove the A/C clutch field coil.

INSTALLATION
1. Clean the A/C disc and field coil and pulley mounting surfaces.







2. CAUTION: Do not use air tools. The A/C clutch field coil can be easily damaged.

Install the A/C clutch field coil.
1 Place the A/C clutch field coil on the A/C compressor with the A/C clutch field coil electrical connector correctly positioned.
2 Using the special tools, install the A/C field coil.







3. NOTE: The A/C clutch pulley is a tight fit on the A/C compressor head. It must be correctly aligned during installation.

Install the A/C clutch pulley.







4. Install the pulley snap ring with the bevel side out.







5. Place one nominal thickness A/C clutch hub spacer inside the clutch hub spline opening.







6. Install the A/C clutch.







7. Using the special tool, install the A/C disc and hub assembly retaining bolt.







8. Measure and adjust the clutch air gap by removing or adding A/C clutch hub spacers.
9. Install the A/C compressor.