Operation CHARM: Car repair manuals for everyone.
Manuals through 2025 now available!

Our trusted friends have launched a new website named LEMON, which has newer manuals. It also contains all the CHARM manuals.

LEMON is the spiritual successor to CHARM, I recommend you try it!

Link: lemon-manuals.la or lemon-manuals.org.ua

(Some people have issue connecting. LEMON is investigating. For now, use Firefox or change your DNS server)

Or, hide this message: temporarily or permanently

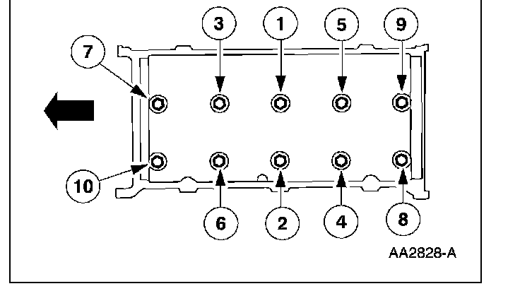
Cylinder Head Assembly

CYLINDER HEAD






CAUTION: The cylinder head bolts must be discarded and new bolts installed. They are a tighten-to-yield design and cannot be reused.

Stage 1: Tighten the bolts to 40 Nm (30 ft. lbs.)
Stage 2: Tighten the bolts an additional 90 degrees
Stage 3: Loosen the bolts a minimum of one full turn.
Stage 4: Tighten to 40 Nm (30 ft. lbs.)
Stage 5: Tighten an additional 90 degrees
Stage 6: Tighten an additional 90 degrees

Cylinder head gasket surface flatness 0.10 mm (0.004 inch) max. overall





Camshaft cap cluster to cylinder head 10 Nm (89 inch lbs.)





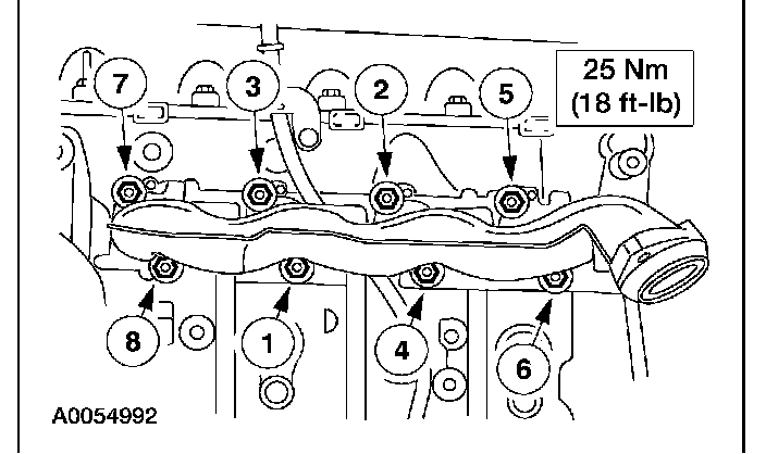
Exhaust Manifold bolts LH 25 Nm (18 ft.lbs.)





Exhaust Manifold bolts RH 23-27 Nm (17-20 ft.lb.)

CAMSHAFT SPROCKET BOLT
Tighten the bolts in two stages.
Stage 1: Tighten the bolt to 40 Nm (30 lb-ft).
Stage 2: Tighten the bolt an additional 90 degrees (1/4 turn)





Lower intake manifold manifold bolts 10 Nm (89 in.lbs)





Tighten the supercharger and CAC cooler assembly-to-lower intake
Stage 1: Tighten to 2 Nm (18 inch lbs.)
Stage 2: Tighten to 25 Nm (18 ft. lbs.)