Operation CHARM: Car repair manuals for everyone.
Manuals through 2025 now available!

Our trusted friends have launched a new website named LEMON, which has newer manuals. It also contains all the CHARM manuals.

LEMON is the spiritual successor to CHARM, I recommend you try it!

Link: lemon-manuals.la or lemon-manuals.org.ua

(Some people have issue connecting. LEMON is investigating. For now, use Firefox or change your DNS server)

Or, hide this message: temporarily or permanently

Compressor Clutch: Service and Repair

CLUTCH AND CLUTCH FIELD COIL


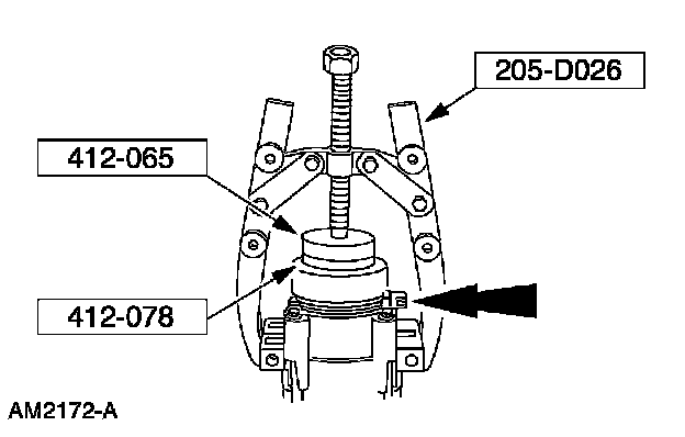
Special Tool(s):






Special Tool(s)







Removal
1. Remove the A/C compressor.







2. Remove the A/C clutch nut.
1 Using the special tool, hold the clutch plate.
2 Remove the nut.

NOTE: Remove the snap ring prior to the removal of the A/C clutch pulley.







3. CAUTION: Do not use air tools. Damage to the A/C clutch pulley or A/C compressor may result.

Using the special tool, remove the A/C clutch pulley.







4. Remove the thermal limiter.
1 Remove the bolt and the hold-down bracket.
2 Remove the thermal limiter.







5. CAUTION: Do not use air tools. Damage to the A/C clutch pulley or A/C compressor may result.

Note the location of the A/C clutch field coil electrical connector.

6. Using the special tools, remove the A/C clutch field coil.

Installation
1. Clean the A/C clutch field coil and pulley mounting surfaces.







2. CAUTION: Do not use air tools. Damage to the A/C clutch field coil may result.

NOTE: Position the clutch field coil on the A/C compressor as previously marked.

Using the special tools, install the A/C clutch field coil.







3. NOTE: Apply a pea-sized drop of silicone sealant to the thermal limiter socket before installing the thermal limiter into the A/C compressor. Failure to use the approved sealant listed in the materials table may affect the function of the switch.

Install the thermal limiter.
1 Install the thermal limiter.
2 Install the hold-down bracket and the bolt.
- Tighten to 6 Nm (53 lb-in).







4. NOTE: The A/C clutch pulley is a tight fit on the A/C compressor head. It must be correctly aligned during installation.

Install the A/C clutch pulley and the snap ring with the bevel side facing out.







5. Place 1 nominal thickness A/C clutch hub spacer inside the clutch hub spline opening.







6. Install the disc and the hub assembly.







7. Using the special tool, install the A/C compressor clutch nut.
- Tighten to 26 Nm (19 lb-ft).







8. Measure and adjust the air gap by removing or adding spacers.
9. Install the A/C compressor.
10. Evacuate, charge and leak test the refrigerant system.