Operation CHARM: Car repair manuals for everyone.
Manuals through 2025 now available!

Our trusted friends have launched a new website named LEMON, which has newer manuals. It also contains all the CHARM manuals.

LEMON is the spiritual successor to CHARM, I recommend you try it!

Link: lemon-manuals.la or lemon-manuals.org.ua

(Some people have issue connecting. LEMON is investigating. For now, use Firefox or change your DNS server)

Or, hide this message: temporarily or permanently

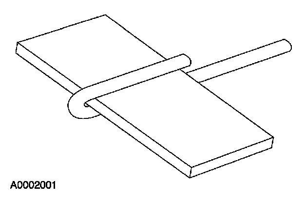
Spring Lock Coupling

SPRING LOCK COUPLING


Remover, Refrigerant Coupling Spring:






Special Tool(s)

Disconnect
1. Remove the spring lock coupling clip, if equipped.







2. CAUTION: Do not use metal tools to remove the O-ring seals. They can cause axial scratches across the O-ring seal grooves, resulting in refrigerant leaks.

Push the tool into the cage opening to release the female fitting from the spring lock coupling spring and pull the fitting apart.
- Remove the O-ring seals using a non-metallic tool.







3. CAUTION: Do not use a screwdriver or similar tool to remove the A/C tube lock coupling spring; this can cause axial scratches across the O-ring seal grooves resulting in refrigerant leaks.

Remove the spring lock coupling spring with a small hooked wire.

Cleaning







1. Fabricate a cleaning tool from a 1/8-inch diameter brazing rod.







2. Cut an abrasive pad with the dimensions corresponding to the coupling size.







3. Assemble the pad to the tool.
4. Coat the abrasive pad with mineral oil.
5. Roll the pad on the tool and install it in a variable speed drill motor.







6. CAUTION: Maintain low speed drill rotation when inserting or removing the cleaning tool to prevent axial scratches which may cause future leaks.

Polish for 1 minute at moderate speed (less than 1,500 rpm) or until the surface is clean and free of scratches or foreign material.

7. Clean the fitting with a lint-free cloth.
8. Inspect the surface for grooves or scratches. If grooves and scratches are still present, install a new component.







9. Clean the O-ring seal grooves with a 30 cm (1 foot) length of natural fiber string.
- Loop the string around the grooves and pull the string back and forth.

10. Remove any foreign material from the grooves with a lint-free cloth.

Connect







1. Install the spring lock coupling spring.







2. Lubricate the inside of the coupling with mineral oil.







3. CAUTION: Use only new, green, O-ring seals. The use of any O-ring seals other than specified may result in intermittent leakage during vehicle operation.

Install the O-ring seals.
- Lubricate the O-ring seals with mineral oil.







4. Connect the spring lock coupling fittings with a twisting motion until the spring lock coupling spring snaps over the flared end of the female fitting.
5. Install the spring lock coupling clip.