Operation CHARM: Car repair manuals for everyone.
Manuals through 2025 now available!

Our trusted friends have launched a new website named LEMON, which has newer manuals. It also contains all the CHARM manuals.

LEMON is the spiritual successor to CHARM, I recommend you try it!

Link: lemon-manuals.la or lemon-manuals.org.ua

(Some people have issue connecting. LEMON is investigating. For now, use Firefox or change your DNS server)

Or, hide this message: temporarily or permanently

Starter Motor: Service and Repair

STARTER MOTOR

Removal and Installation

WARNING: When carrying out maintenance on the starting system be aware that heavy gauge leads are connected directly to the battery. Make sure protective caps are in place when maintenance is complete.

1. Disconnect the battery ground cable.
2. With the vehicle in NEUTRAL, position it on a hoist.







3. Remove the starter motor solenoid terminal cover.







4. Remove the nut and remove the wire.







5. Remove the nut and remove the wire.







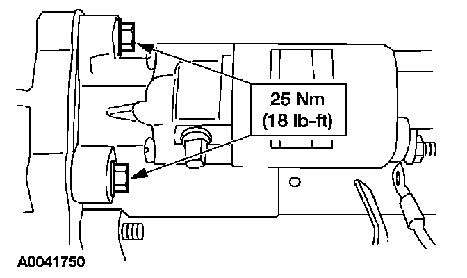
6. Remove the three bolts and remove the starter motor.

















7. To install, reverse the removal procedure.
- Install the upper and lower starter bolts finger tight.
- Tighten the upper bolt.
- Tighten the lower bolts.