Operation CHARM: Car repair manuals for everyone.
Manuals through 2025 now available!

Our trusted friends have launched a new website named LEMON, which has newer manuals. It also contains all the CHARM manuals.

LEMON is the spiritual successor to CHARM, I recommend you try it!

Link: lemon-manuals.la or lemon-manuals.org.ua

(Some people have issue connecting. LEMON is investigating. For now, use Firefox or change your DNS server)

Or, hide this message: temporarily or permanently

Air Bag Control Module: Service and Repair

RESTRAINTS CONTROL MODULE (RCM)

Removal

WARNING:
- Do not handle, move or change the original horizontal mounting position of the restraints control module (RCM) while the RCM is connected and the ignition switch is ON. Failure to follow these instructions may result in the inadvertent deployment of the safety canopy and risk of personal injury.
- The restraints control module (RCM) orientation is critical for proper air bag supplemental restraint system (SRS) operation. If a vehicle equipped with an SRS system has been involved in a collision in which the center tunnel area has been damaged, inspect the mounting and bracket for deformation. If damaged, the RCM must be replaced whether or not the air bags have deployed. In addition, make sure the area of the RCM mounting is restored to its original condition.
- Always wear safety glasses when repairing an air bag supplemental restraint system (SRS) vehicle and when handling an air bag module. This will reduce the risk of injury in the event of an accidental deployment.
- To reduce the risk of personal injury, do not use any memory saver devices.


CAUTION: Electronic modules are sensitive to static electrical charges. If exposed to these charges, damage can result.

NOTE:
- The air bag warning lamp illuminates when the RCM fuse is removed and the ignition switch is ON. This is normal operation and does not indicate a supplemental restraint system (SRS) fault.
- The SRS must be fully operational and free of faults before releasing the vehicle to the customer.
- When installing a new restraints control module (RCM), always make sure the correct RCM is being installed. If an incorrect RCM is installed, erroneous DTCs will result.
- Repair is made by installing a new part only. If the new part does not correct the condition, install the original part and carry out the diagnostic procedure again.

All vehicles
1. Depower the system.

Vehicles with a center console
2. Remove the center console.

Vehicles with 60/40 front bench seat
3. Remove the 60 percent portion of the front bench seat.







4. Remove the nuts and the restraints control module (RCM) top bracket.







5. WARNING: Do not handle, move or change the original horizontal mounting position of the restraints control module (RCM) while the RCM is connected and the ignition switch is ON. Failure to follow these instructions may result in the inadvertent deployment of the safety canopy and risk of personal injury.

Separate the RCM from the bracket.
1 Remove the nuts.
2 Separate the RCM from the bracket.

All vehicles







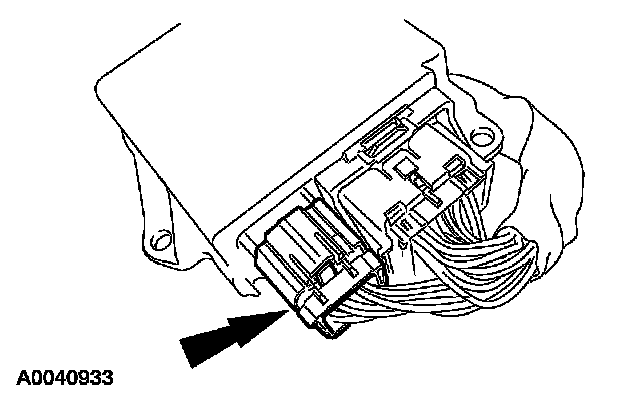
6. Disconnect the small restraints control module (RCM) electrical connector.
1 Push down to release the retaining tab.
2 While releasing the retaining tab, pull out and disconnect the small RCM electrical connector.







7. Disconnect the large RCM electrical connector.
1 Pinch the thumb tab and pivot the connector position assurance lever away from the RCM, disengaging the lever.
2 Pull out and disconnect the large RCM electrical connector.

Vehicles with 60/40 front bench seat
8. Remove the RCM.

Vehicles with a center console







9. Remove the RCM.
1 Remove the RCM bracket bolts.
2 Remove the RCM with bracket.

Installation

Vehicles with a center console







1. WARNING: The tightening torque of the air bag restraints control module (RCM) bracket retaining bolts is critical for correct system operation.

Install the RCM.
1 Position the RCM with bracket.
2 Install the bolts.

All vehicles







2. Make sure the connector position assurance lever is in the full release position before attempting to connect the connector.







3. CAUTION: Putting the large RCM electrical connector into the RCM on an angle can cause bad electrical connections and damage components.

Position the large RCM electrical connector into the RCM.

- CAUTION: Do not push the connector on to where the lever pivots and seats itself. Light pressure is needed to get the connector into position on the RCM before using the lever to fully seat the connector.

With the large RCM electrical connector uniformly aligned to the RCM, lightly push in until a subtle audible click is heard and slight resistance is felt.







4. Connect the RCM electrical connector.
- Pivot the connector position assurance lever toward the RCM, drawing the connector in to the RCM.
- Make sure the thumb tab is engaged to the retainer on the RCM and locked in place.







5. Connect the small RCM electrical connector.

Vehicles with 60/40 front bench seat







6. WARNING: The tightening torque of the air bag restraints control module (RCM) to bracket retaining nuts is critical for correct system operation.

Install the RCM.
1 Position the RCM to the bracket.
- While positioning the RCM onto the bracket, make sure the wire harness is positioned between the RCM and the bracket shield.

2 Install the nuts.







7. Position the RCM top bracket and install the nuts.

Vehicles with a center console
8. Install the center console.

Vehicles with 60/40 front bench seat
9. Install the 60 percent portion of the front bench seat.

All vehicles
10. Repower the system.