Operation CHARM: Car repair manuals for everyone.
Manuals through 2025 now available!

Our trusted friends have launched a new website named LEMON, which has newer manuals. It also contains all the CHARM manuals.

LEMON is the spiritual successor to CHARM, I recommend you try it!

Link: lemon-manuals.la or lemon-manuals.org.ua

(Some people have issue connecting. LEMON is investigating. For now, use Firefox or change your DNS server)

Or, hide this message: temporarily or permanently

Torque Specifications














Torque Specifications


Cylinder head
Tighten the bolts in 3 stages RH shown, LH similar.






Stage 1 40 Nm (30 ft. lbs.)
Stage 2 Tighten an additional 90 degrees
Stage 3 Tighten an additional 90 degrees
Use New Bolts


Intake Manifold





Tighten in 2 stages:
Stage 1 2 Nm (18 inch lbs.)
Stage 2 Tighten to 10 Nm (89 inch lbs.)


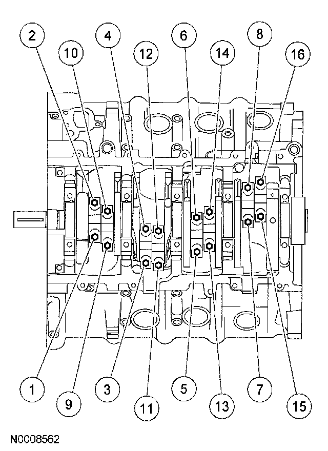
Camshaft Bearing Cap






LH and RH camshaft bearing caps
Install the bolts loosely.
Tighten 10 Nm (89 inch lbs.)


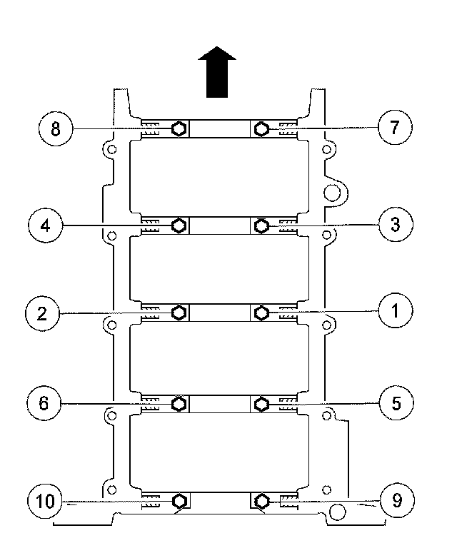
Main bearing Cap
Install the vertical main bearing cap fasteners and tighten in the sequence shown:






^ Tighten 40 Nm (30 ft. lbs.).
^ Tighten additional 90 degrees.

Install the side bolts and tighten them in the sequence shown:






^ Tighten 30 Nm (22 ft. lbs.).
^ Tighten additional 90 degrees.

Rod Bearing Cap





Tighten the bolts in 2 stages:
Stage 1 43 Nm (32 ft. lbs.)
Stage 2 Tighten an additional 105 degrees


Crankshaft Pulley

Stage 1 90 Nm (66 ft. lbs.)
Stage 2 Loosen 360 degrees
Stage 3 50 Nm (37 ft. lbs.)
Stage 4 Tighten an additional 90 degrees


Flexplate





Tighten 80 Nm (59 ft. lbs.)


Flywheel





Tighten 80 Nm (59 ft. lbs.)


Oil pump bolts 10 Nm (89 inch lbs.)


Exhaust Manifold - LH





Tighten 25 Nm (18 ft. lbs.)


Exhaust Manifold - RH





Tighten 25 Nm (18 ft. lbs.)


Coolant Pump 25 Nm (18 ft. lbs.)