Operation CHARM: Car repair manuals for everyone.
Manuals through 2025 now available!

Our trusted friends have launched a new website named LEMON, which has newer manuals. It also contains all the CHARM manuals.

LEMON is the spiritual successor to CHARM, I recommend you try it!

Link: lemon-manuals.la or lemon-manuals.org.ua

(Some people have issue connecting. LEMON is investigating. For now, use Firefox or change your DNS server)

Or, hide this message: temporarily or permanently

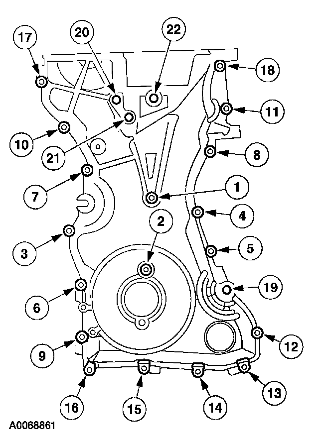
Timing Drive Components


NOTE: Ford does not provide camshaft gear timing marks, or information to perform timing chain service without the special tools shown in this procedure.


Timing Drive Components








Special Tool(s)





Material

Removal

CAUTION: The crankshaft, the crankshaft sprocket and the pulley are fitted together by friction, using diamond washers between the flange faces on each part. For that reason, the crankshaft sprocket is also unfastened if you loosen the pulley. Therefore, the engine must be retimed each time the damper is removed. Otherwise severe engine damage can occur.

1. With the vehicle in NEUTRAL, position it on a hoist.
2. Remove the fan shroud.
3. Remove the accessory drive belt.
4. Remove the valve cover.
5. Remove the coolant expansion tank.
6. Remove the battery tray.





7. NOTE: If the Crankshaft Position (CKP) sensor is damaged during engine front cover removal, a new CKP sensor must be installed.

Disconnect the CKP sensor electrical connector and wiring harness pin-type retainers.





8. CAUTION: Failure to position the No. 1 piston at Top Dead Center (TDC) can result in damage to the engine. Turn the engine in the normal direction of rotation only.

Using the crankshaft pulley bolt, turn the crankshaft clockwise to position the No. 1 piston at TDC.





9. CAUTION: The special tool 303-465 is for camshaft alignment only. Using this tool to prevent engine rotation can result in engine damage.

NOTE: The camshaft timing slots are offset. If the special tool cannot be installed, rotate the crankshaft one complete revolution clockwise to correctly position the camshafts.

Install the special tool in the slots on the rear of both camshafts.





10. Remove the plug bolt.





11. NOTE: Only turn the engine in the normal direction of rotation.

NOTE: Installing the special tool in this step will prevent the engine from being rotated in the clockwise direction. However, the engine can still be rotated in the counterclockwise direction.

Install the special tool.





12. Install the special tool.





13. Remove the transaxle mount center nut.





14. Remove the engine mount nuts.





15. Remove the engine mount bolts and the engine mount.





16. Loosen the lower transaxle mount nuts.
17. Lower the engine enough to allow for the clearance to install special tools.





18. Install the special tools.





19. CAUTION: Failure to hold the crankshaft pulley in place during bolt loosening can result in damage to the engine.

Remove the crankshaft pulley.
1 Remove the crankshaft pulley bolt.
2 Remove the special tools.
3 Remove the crankshaft pulley.





20. Remove the bolts and the accessory belt tensioner.





21. Disconnect the Power Steering Pressure (PSP) switch electrical connector.





22. Remove the nut and detach the PSP tube bracket.





23. Disconnect the PSP tube.
- Remove and discard the Teflon O-ring seal.





24. Remove the four bolts and position the power steering pump aside.





25. Remove the bolts and the coolant pump pulley.





26. Remove the bolt and the accessory drive belt idler pulley.





27. CAUTION: Use care not to damage the engine front cover or the crankshaft when removing the seal.

Inspect the crankshaft front oil seal for wear or damage.
- If necessary, remove the crankshaft front oil seal using the special tool.





28. Remove the bolts and the engine front cover.





29. Remove the timing chain tensioner.
1 Compress the timing chain tensioner, and insert a paper clip into the hole to retain the tensioner.
2 Remove the bolts and timing chain tensioner.





30. Remove the RH timing chain guide.





31. Remove the timing chain.





32. Remove the bolts and the LH timing chain guide.





33. CAUTION: Do not rely on the Camshaft Alignment Plate to prevent camshaft rotation. Damage to the tool or the camshaft can occur.

If necessary, remove the bolts and the camshaft sprockets.
- Use the flats on the camshaft to prevent camshaft rotation.

Installation





1. Remove the special tool.





2. CAUTION: Do not rotate the camshafts. Damage to the valves and pistons can occur.

If the camshaft sprockets were not removed, use the flats on the camshafts to prevent camshaft rotation and loosen the sprocket bolts.





3. If removed, install the camshaft sprockets and the bolts. Do not tighten the bolts at this time.





4. Install the LH timing chain guide and the bolts.





5. Install the timing chain.





6. Install the RH timing chain guide.





7. Install the timing chain tensioner and the bolts.
Remove the paper clip to release the piston.





8. Install the special tool.





9. CAUTION: The special tool 303-465 is for camshaft alignment only. Using this tool to prevent engine rotation can result in engine damage.

Using the flats on the camshafts to prevent camshaft rotation, tighten the bolts.

10. CAUTION: Do not use metal scrapers, wire brushes, power abrasive disks or other abrasive means to clean sealing surfaces. These tools cause scratches and gouges which make leak paths.

Clean and inspect the mounting surfaces of the engine and the front cover.





11. NOTE: The engine front cover must be installed and the bolts tightened within four minutes of applying the silicone gasket and sealant.

Apply a 2.5 mm bead of silicone gasket and sealant to the cylinder head and oil pan joint areas. Apply a 2.5 mm bead of silicone gasket and sealant to the front cover.





12. Install the engine front cover. Tighten the bolts in the sequence shown to the following specifications:
- Tighten the 8 mm bolts to 10 Nm (89 inch lbs.).
- Tighten the 13 mm bolts to 48 Nm (35 ft. lbs.).





13. NOTE: Remove the through-bolt from the special tool.

NOTE: Lubricate the oil seal with clean engine oil.

If a new seal is being installed, use the special tool to install the crankshaft front oil seal.





14. Position the power steering pump and install the four bolts.





15. Using the special tool, install a new O-ring on the PSP tube fitting.





16. Connect the power steering PSP tube fitting.





17. Attach the PSP tube bracket and install the nut.





18. Connect the PSP switch electrical connector.





19. Install the coolant pump pulley and bolts.





20. Install the accessory drive belt idler pulley and bolt.





21. Install the accessory drive belt tensioner.
1 Position the tensioner.





2 Install the tensioner bolts.

22. NOTE: Do not reuse the crankshaft damper bolt.

NOTE: Apply clean engine oil on seal area before installing.

Install the crankshaft pulley and hand-tighten the bolt.





23. CAUTION: Only hand-tighten the bolt or damage to the front cover can occur.

NOTE: This step will correctly align the crankshaft pulley to the crankshaft.

Install a standard 6 mm (0.23 inch) x 18 mm (0.7 inch) bolt through the crankshaft pulley and thread it into the front cover.
- Rotate the pulley as necessary to align the bolt holes.





24. CAUTION: Failure to hold the crankshaft pulley in place during bolt tightening can cause damage to the engine front cover.

Using the special tools to hold the crankshaft pulley in place, tighten the crankshaft pulley bolt in two stages:
- Stage 1: Tighten to 100 Nm (74 ft. lbs.).
- Stage 2: Tighten an additional 90 degrees (1/4 turn).





25. Remove the special tools.





26. Remove the 6 mm (0.23 inch) x 18 mm (0.7 inch) bolt.





27. Remove the special tool.





28. Remove the special tool.

29. NOTE: Only turn the engine in the normal direction of rotation.

Turn the engine two complete revolutions.





30. Install the special tool.

31. NOTE: Only turn the engine in the normal direction of rotation.

Turn the crankshaft until the No. 1 piston is at Top Dead Center (TDC).





32. CAUTION: Only hand-tighten the bolt or damage to the front cover can occur.

Using the 6 mm (0.23 inch) x 18 mm (0.7 inch) bolt, check the position of the crankshaft pulley.
- If it is not possible to install the bolt, correct the engine timing.





33. Using the special tool, check the position of the camshafts.
- If it is not possible to install the special tool, correct the engine timing.





34. Remove the special tool.





35. Remove the 6 mm (0.23 inch) x 18 mm (0.7 inch) bolt.





36. Remove the special tool.





37. Install the engine plug bolt.





38. NOTE: If the Crankshaft Position (CKP) sensor is damaged during engine front cover removal, a new CKP sensor must be installed.

Connect the CKP sensor electrical connector and the wiring harness pin-type retainers.
39. Raise the engine.





40. Install the engine mount and bolts.





41. Install the engine mount nuts.





42. Install the transaxle mount nut.





43. Tighten the lower transaxle mount nuts.
1 Position the lower transaxle mount.
2 Tighten the lower transaxle mount nuts.
44. Install the battery tray.
45. Install the valve cover.
46. Install the accessory drive belt.
47. Install the fan and shroud.
48. Install the coolant expansion tank.
49. Fill and purge the power steering fluid.