Operation CHARM: Car repair manuals for everyone.
Manuals through 2025 now available!

Our trusted friends have launched a new website named LEMON, which has newer manuals. It also contains all the CHARM manuals.

LEMON is the spiritual successor to CHARM, I recommend you try it!

Link: lemon-manuals.la or lemon-manuals.org.ua

(Some people have issue connecting. LEMON is investigating. For now, use Firefox or change your DNS server)

Or, hide this message: temporarily or permanently

Rear Door Glass Top Run

REAR DOOR GLASS TOP RUN

Removal and Installation

All vehicles
1. Remove the rear door speaker.







2. Remove the side impact bolster.







3. Position the door latch release handle aside.







4. CAUTION: Do not touch the adhesive surface, as re-bonding will be impaired.

Remove the watershield.

Vehicles with manual windows
5. Install the window regulator handle.

Vehicles with power windows







6. Connect the door glass operating switch electrical connector.

All vehicles







7. Align the regulator clamp with the access hole (power window shown, manual similar).







8. NOTE: Do not remove the glass from the door.

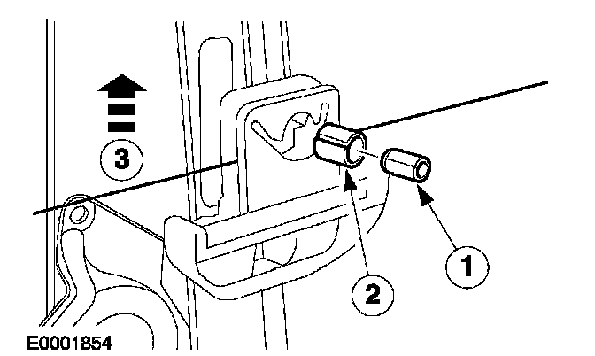
Remove the window glass from the regulator.
1 Push out the pin.
2 Push out the sleeve.
3 Remove the glass from the regulator clamp.

Vehicles with manual windows
9. Remove the window regulator handle.

Vehicles with power windows







10. Disconnect the driver door glass operating switch electrical connector.







11. Remove the door glass top run.
12. To install, reverse the removal procedure.