Operation CHARM: Car repair manuals for everyone.
Manuals through 2025 now available!

Our trusted friends have launched a new website named LEMON, which has newer manuals. It also contains all the CHARM manuals.

LEMON is the spiritual successor to CHARM, I recommend you try it!

Link: lemon-manuals.la or lemon-manuals.org.ua

(Some people have issue connecting. LEMON is investigating. For now, use Firefox or change your DNS server)

Or, hide this message: temporarily or permanently

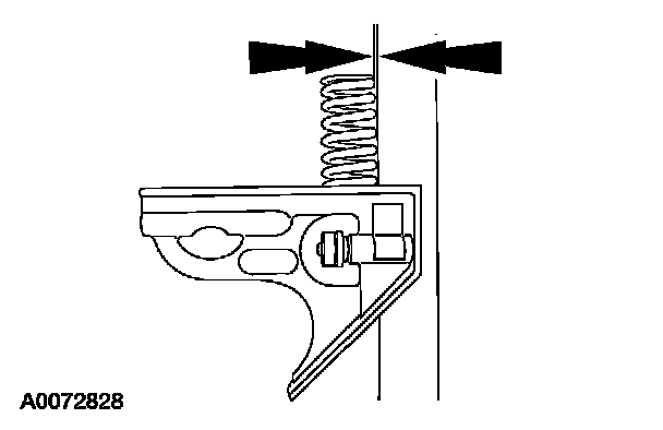
Valve Spring

Valve-Spring Installed Length





1. Measure the installed length of each valve spring.
^ If out of specification, install new components.

Valve-Spring Free Length





1. Measure the free length of each valve spring.
^ If out of specification, install new components as necessary.

Valve-Spring Squareness





1. Measure the out-of-square on each valve spring.
^ Turn the valve spring and observe the space between the top of the valve spring and the square. Install a new valve spring if out of square.

Valve Spring Strength





Special Tool(s)





1. Use a Valve/Clutch Spring Pressure Gauge to check the valve spring for correct strength at the specified valve spring length.
^ If out of specification, install new components as necessary.