Operation CHARM: Car repair manuals for everyone.
Manuals through 2025 now available!

Our trusted friends have launched a new website named LEMON, which has newer manuals. It also contains all the CHARM manuals.

LEMON is the spiritual successor to CHARM, I recommend you try it!

Link: lemon-manuals.la or lemon-manuals.org.ua

(Some people have issue connecting. LEMON is investigating. For now, use Firefox or change your DNS server)

Or, hide this message: temporarily or permanently

Part 1

Engine











Special Tool(s)








Material








Engine Upper End











Engine Lower end





1. Record the main bearing code found on the front of the engine block.





2. Record the main bearing code found on the back of the crankshaft.





3. Using the data recorded earlier and the Bearing Select Fit Chart, Standard Bearings, determine the required bearing grade for each main bearing.
^ Read the first letter of the engine block main bearing code and the first letter of the crankshaft main bearing code.
^ Read down the column below the engine block main bearing code letter and across the row next to the crankshaft main bearing code letter, until the 2 intersect. This is the required bearing grade for the number 1 crankshaft main bearing.
^ As an example, if the engine block code letter is F and the crankshaft code letter is D, the correct bearing grade for this main bearing is a 2.
^ Repeat this process for the remaining 4 main bearings.





4. If oversize bearings are being used, use the procedure in the previous step and the Bearing Select Fit Chart, Oversize Bearings to determine the required bearing grade for each main bearing.

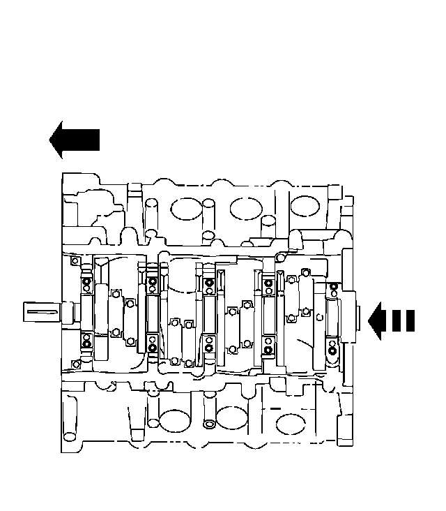
5. NOTE: Before assembling the cylinder block, all sealing surfaces must be free of chips, dirt, paint and foreign material. Also, make sure the coolant and oil passages are clear.

Install the crankshaft main bearings.
^ Install the crankshaft upper main bearings into the cylinder block.
^ Install the crankshaft lower main bearings into the bearing caps.
^ Make sure all oil passages are aligned.
^ Lubricate all main bearings with clean engine oil.





6. Lubricate the crankshaft bearing journals with clean engine oil. Install the crankshaft onto the upper crankshaft main bearings.








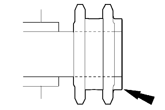
7. NOTE: The oil groove on the thrust washer must face toward the rear of the engine (against the crankshaft thrust surface).

Push the crankshaft rearward and install the rear crankshaft upper thrust washer at the back of the No. 5 main boss.
8. Install the rear (No. 5) main bearing cap.
9. Install the crankshaft lower main bearings into the main bearing caps and lubricate them with clean engine oil. Locate the main bearing cap on the cylinder block and, keeping the cap as square as possible, alternately draw the cap down evenly using the cap fasteners.





10. Push the crankshaft forward to seat the crankshaft thrust washer. Hold the crankshaft in the forward position.





11. Install the vertical main bearing cap fasteners and tighten in the sequence shown, in 4 stages.
^ Stage 1: Tighten fasteners 1 through 20 to 10 Nm (89 inch lbs.).
^ Stage 2: Tighten fasteners 1 through 10 to 25 Nm (18 ft. lbs.).
^ Stage 3: Tighten fasteners 11 through 20 to 40 Nm (30 ft. lbs.).
^ Stage 4: Tighten fasteners 1 through 20 an additional 90 degrees.





12. Install the cross-mounted main bearing cap fasteners and tighten in the sequence shown, in 2 stages.
^ Stage 1: Tighten to 40 Nm (30 ft. lbs.).
^ Stage 2: Tighten an additional 90 degrees.
13. Check the crankshaft end play.
14. Check that crankshaft torque to turn does not exceed 6 Nm (53 inch lbs.).
15. Check the piston to cylinder block and piston ring clearances.
16. Assemble the pistons.





17. Make sure the ring gaps (oil spacer-A, oil ring-B, compression ring-C) are correctly spaced around the circumference of the piston.





18. CAUTION: Do not scratch the cylinder walls or crankshaft journals with the connecting rod.

NOTE: The following piston installation steps are for all 8 connecting rods, rod bearings and pistons. Only 1 connecting rod, rod bearing and piston is shown.

Use the special tools to install the connecting rod with the upper connecting rod bearing in place.
^ Lubricate the piston and ring with clean engine oil
^ Lubricate the rod bearings with clean engine oil.





19. CAUTION: Do not scratch the cylinder walls or crankshaft journals with the connecting rod.

Once the connecting rod is seated on the crankshaft journal, remove the special tools.

20. CAUTION: The rod cap installation must keep the same orientation as marked during disassembly.

NOTE: The connecting rod caps are of the cracked design and must mate with the connecting rod ends. Excessive bearing clearance will result if not mated correctly.

Position the lower bearing and connecting rod and install the new bolts loosely.





21. NOTE: Main bearing caps are removed for clarity.

Tighten the bolts in 2 stages, in the sequence shown.
^ Stage 1: Tighten to 43 Nm (32 ft. lbs.).
^ Stage 2: Tighten an additional 105 degrees.





22. Position the oil pump and install the 3 bolts.
^ Tighten to 10 Nm (89 inch lbs.).





23. Install the windage tray and the 7 nuts.
^ Tighten to 25 Nm (18 ft. lbs.).





24. CAUTION: Make sure the O-ring is in place and not damaged. A missing or damaged O-ring can cause foam in the lubrication system, low oil pressure and severe engine damage.

NOTE: Clean and inspect the mating surfaces and install a new O-ring. Lubricate the O-ring with clean engine oil prior to installation.

Install the spacer, oil pump screen and pickup tube and the 3 bolts.
^ Tighten the spacer and the oil pump screen and pickup tube to spacer bolt to 25 Nm (18 ft. lbs.).
^ Tighten the oil pump screen and pickup tube to oil pump bolts to 10 Nm (89 inch lbs.).





25. CAUTION: Make sure all coolant residue and foreign material are cleaned from the block surface and cylinder bore.

CAUTION: The use of sealing aids (aviation cement, copper spray and glue) is not permitted. The gasket must be installed dry.

CAUTION: The cylinder head bolts must be discarded and new bolts installed. They are tighten to yield designed and cannot be reused.

NOTE: Do not turn the crankshaft until instructed to do so.

NOTE: LH shown, RH similar.

Using the special tools, position the cylinder head gaskets and cylinder heads over the dowels and install the 20 cylinder head bolts loosely.





26. NOTE: LH shown, RH similar.

Tighten the bolts in 3 stages, in the sequence shown.
^ Stage 1: Tighten to 40 Nm (30 ft. lbs.).
^ Stage 2: Tighten an additional 90 degrees.
^ Stage 3: Tighten an additional 90 degrees.





27. Remove the special tool from the LH cylinder head.





28. Remove the special tool from the RH cylinder head.





29. NOTE: Lubricate the hydraulic lash adjusters with clean engine oil prior to installation.

Install the hydraulic lash adjusters into the RH and LH cylinder heads.

30. NOTE: Lubricate the camshaft and camshaft journals with clean engine oil prior to installation.

Install the LH and RH camshafts.





31. NOTE: LH shown, RH similar.

NOTE: Lubricate the camshaft bearing caps with clean engine oil.

Install the LH and RH camshaft bearing caps in their original locations.
^ Position the front camshaft bearing cap.
^ Position the remaining camshaft bearing caps.
^ Install the bolts loosely.
^ Tighten to 10 Nm (89 inch lbs.) in the sequence shown.





32. CAUTION: Damage to the camshaft phaser sprocket assembly will occur if mishandled or used as a lifting or leveraging device.

NOTE: LH shown, RH similar.

Position the camshaft phaser sprockets and install new camshaft phaser bolts finger tight.





33. CAUTION: Damage to the camshaft phaser sprocket assembly will occur if mishandled or used as a lifting or leveraging device.

CAUTION: Only use hand tools to remove the camshaft phaser sprocket assembly or damage may occur to the camshaft or camshaft phaser unit.

CAUTION: Damage to the camshaft phaser sprocket assembly will occur if mishandled or used as a lifting or leveraging device.

NOTE: LH shown, RH similar.

Using the special tool, tighten the LH and RH camshaft phaser sprocket bolts in 2 stages.
^ Stage 1: Tighten to 40 Nm (30 ft. lbs.).
^ Stage 2: Tighten an additional 90 degrees.





34. Install the crankshaft sprocket, making sure the flange faces forward.





35. Rotate the crankshaft to position the crankshaft sprocket timing mark in the 6 o'clock position.





36. Rotate the camshaft sprockets to position the RH camshaft sprocket timing mark in the 11 o'clock position and the LH camshaft sprocket timing mark in the 12 o'clock position.

37. CAUTION: If one or both tensioner mounting bolts are loosened or removed, the tensioner sealing bead must be inspected for seal integrity. Any cracks, tears, cuts or separation from the tensioner body, or permanent compression of the seal bead, will require replacement of the tensioner.

Inspect the RH and LH timing chain tensioners.
Install new tensioners as necessary.





38. CAUTION: Timing chain procedures must be followed exactly or damage to valves and pistons will result.

Compress the tensioner plunger, using a vise.





39. Install a retaining clip on the tensioner to hold the plunger in during installation.
40. Remove the tensioner from the vise.