Operation CHARM: Car repair manuals for everyone.
Manuals through 2025 now available!

Our trusted friends have launched a new website named LEMON, which has newer manuals. It also contains all the CHARM manuals.

LEMON is the spiritual successor to CHARM, I recommend you try it!

Link: lemon-manuals.la or lemon-manuals.org.ua

(Some people have issue connecting. LEMON is investigating. For now, use Firefox or change your DNS server)

Or, hide this message: temporarily or permanently

Part 3





80. Install the oil level indicator tube and the bolt.
^ Install a new O-ring seal and lubricate the O-ring seal with clean engine oil prior to installation.
^ Tighten to 10 Nm (89 inch lbs.).





81. Position a new gasket, the LH exhaust manifold and tighten the 8 nuts in the sequence shown.
^ Tighten to 25 Nm (18 ft. lbs.).





82. Install the LH motor mount bracket and 4 bolts.
^ Tighten to 55 Nm (41 ft. lbs.).





83. CAUTION: Do not use metal scrapers, wire brushes, power abrasive discs or other abrasive means to clean the sealing surfaces. These tools cause scratches and gouges which make leak paths. Use a plastic scraping tool to remove all traces of old sealant.

NOTE: Clean and inspect the mating surfaces and install new gaskets.

Position the oil filter adapter and install the 4 bolts.
^ Tighten to 25 Nm (18 ft. lbs.).
84. Install a new oil filter.





85. NOTE: LH shown, RH similar.

Install the 8 ignition coils and the 8 bolts.
^ Tighten to 6 Nm (53 inch lbs.).





86. Install the ground strap and nut to the stud bolt.
^ Tighten to 10 Nm (89 inch lbs.).
87. Position the engine wiring harness on the engine.





88. Connect the engine oil pressure sensor electrical connector.





89. Attach the engine wiring harness retainer to the stud bolt.
^ Connect the LH Heated Oxygen Sensor (H02S) electrical connector.





90. Connect the Knock Sensor (KS) electrical connector and pin type retainer.





91. Attach the CHT sensor jumper harness electrical connector pin type retainer.





92. Connect the CHT sensor electrical connector.





93. Detach the engine wiring harness pin type retainers.





94. Connect the 2 engine wiring harness retainers to the LH valve cover studs.





95. Connect the 2 engine wiring harness retainers to the RH valve cover studs.





96. NOTE: RH shown, LH similar.

Connect the 4 RH and 4 LH ignition coil electrical connectors.





97. Connect the Positive Crankcase Ventilation (PCV) tubes from the RH and LH valve covers.





98. Install the RH radio ignition interference capacitor and nut.
^ Tighten to 10 Nm (89 inch lbs.).





99. Attach the engine wiring harness pin type retainers.





100. NOTE: RH shown, LH similar.

Connect the RH and LH Variable Camshaft Timing (VCT) solenoid electrical connectors.





101. NOTE: RH shown, LH similar.

Connect the RH and LH Camshaft Position (CMP) sensor electrical connectors.





102. Install the special tool.
103. Using a suitable floor crane, remove the engine from the engine stand.

104. CAUTION: Do not use metal scrapers, wire brushes, power abrasive discs or other abrasive means to clean the aluminum retainer plate. These tools cause scratches and gouges, which make leak paths.
Use a plastic scraping tool to remove all traces of old sealant.

Inspect the crankshaft rear seal retainer plate. Clean the mating surface for the rear seal retainer plate with silicone gasket remover and metal surface prep. Follow the directions on the packaging.





105. NOTE: If not secured within 4 minutes, the sealant must be removed and the sealing area cleaned. To clean the sealing area, use silicone gasket remover and metal surface prep. Follow the directions on the packaging. Failure to follow this procedure can cause future oil leakage.

Apply a 4 mm (0.16 inch) bead of silicone gasket and sealant around the crankshaft rear seal retainer sealing surface.





106. Install the crankshaft rear seal retainer plate and loosely install the 6 bolts.





107. Tighten the 6 bolts in the sequence shown.
^ Tighten to 10 Nm (89 inch lbs.).





108. CAUTION: Do not use metal scrapers, wire brushes, power abrasive discs or other abrasive means to clean the sealing surfaces. These tools cause scratches and gouges, which make leak paths. Use a plastic scraping tool to remove all traces of old sealant.

Inspect the oil pan. Clean the mating surface for the oil pan with silicone gasket remover and metal surface prep. Follow the directions on the packaging.





109. NOTE: If not secured within 4 minutes, the sealant must be removed and the sealing area cleaned. To clean the sealing area, use silicone gasket remover and metal surface prep. Follow the directions on the packaging. Failure to follow this procedure can cause future oil leakage.

Apply silicone gasket and sealant at the crankshaft rear seal retainer plate to cylinder block sealing surface.

110. NOTE: If not secured within 4 minutes, the sealant must be removed and the sealing area cleaned. To clean the sealing area, use silicone gasket remover and metal surface prep. Follow the directions on the packaging. Failure to follow this procedure can cause future oil leakage.

Apply silicone gasket and sealant at the engine front cover to cylinder block sealing surface.





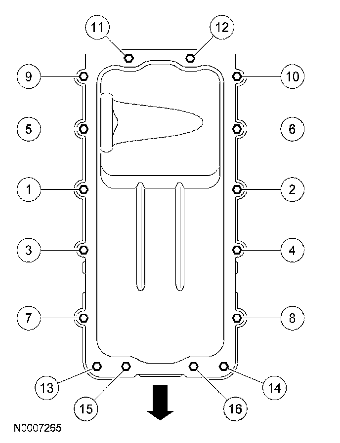
111. Install the oil pan gasket and the oil pan and loosely install the 16 bolts.





112. Tighten the 16 bolts in 3 stages, in the sequence shown.
^ Stage 1: Tighten to 2 Nm (18 inch lbs.).
^ Stage 2: Tighten to 20 Nm (15 ft. lbs.).
^ Stage 3: Tighten an additional 60 degrees.





113. NOTE: Lubricate the inner lip of the crankshaft rear seal with clean engine oil.

Using the special tools, install a new crankshaft rear seal.





114. Using the special tools, install the crankshaft rear oil slinger.





115. NOTE: Flexplate shown, flywheel similar.

Install the flexplate or flywheel and the 6 bolts in the sequence shown.
^ Tighten to 80 Nm (59 ft. lbs.).