Operation CHARM: Car repair manuals for everyone.
Manuals through 2025 now available!

Our trusted friends have launched a new website named LEMON, which has newer manuals. It also contains all the CHARM manuals.

LEMON is the spiritual successor to CHARM, I recommend you try it!

Link: lemon-manuals.la or lemon-manuals.org.ua

(Some people have issue connecting. LEMON is investigating. For now, use Firefox or change your DNS server)

Or, hide this message: temporarily or permanently

Timing Cover: Service and Repair

Engine Front Cover





Special Tool(s)








Material











Removal
1. With the vehicle in NEUTRAL, position it on a hoist. For additional information, refer to Maintenance/Service and Repair.
2. Drain the engine oil.
^ Install the drain plug and tighten to 26 Nm (19 ft. lbs.).
3. Remove the engine coolant degas bottle. For additional information, refer to Cooling System.
4. Remove the RH side idler pulley. For additional information, refer to Drive Belts, Mounts, Brackets and Accessories.
5. Remove the RH valve cover.
6. Remove the LH valve cover.
7. Disconnect the 2 coolant hoses from the engine coolant crossover.
8. Remove the nut and position aside the RH radio ignition interference capacitor.
9. Disconnect the RH Camshaft Position (CMP) sensor electrical connector.
10. Remove the nut and position aside the LH radio ignition Interference capacitor.
11. Remove the J-bracket from the engine front cover stud bolt
12. Disconnect the LH CMP sensor electrical connector.
13. Remove the 4 bolts and the coolant pump pulley.
14. Remove the 2 nuts and the power steering pulley shield.





15. Remove the wiring harness retainer, nut and tube retaining clip from the power steering stud bolt.
16. Remove the 3 stud bolts and position the power steering pump aside.
^ Support the power steering pump with a length of mechanic's wire.
17. Disconnect the Crankshaft Position (CKP) sensor electrical connector.
18. Remove the crankshaft pulley bolt and washer.
^ Discard the crankshaft pulley bolt.





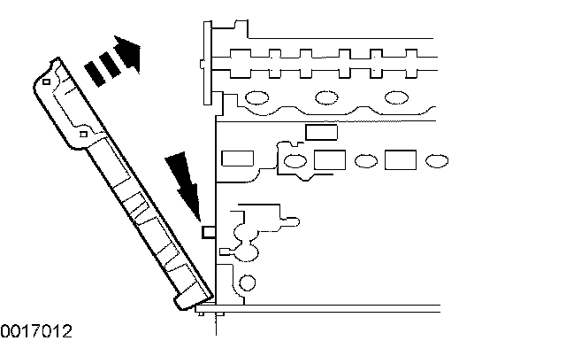
19. Using the special tool, remove the crankshaft pulley.





20. Using the special tool, remove the crankshaft front oil seal.
21. Remove the 4 front oil pan bolts.





22. Remove the bolts and the studs.





23. CAUTION: Do not use metal scrapers, wire brushes, power abrasive discs or other abrasive means to clean the sealing surfaces. These tools cause scratches and gouges which make leak paths. Use a plastic scraping tool to remove all traces of old sealant.

Remove the engine front cover from the front cover to cylinder block dowel.
^ Remove the engine front cover gaskets.
^ Clean the mating surfaces with silicone gasket remover and metal surface prep. Follow the directions on the packaging.
^ Inspect the mating surfaces.

Installation





1. CAUTION: Do not use metal scrapers, wire brushes, power abrasive discs or other abrasive means to clean the sealing surfaces. These tools cause scratches and gouges which make leak paths. Use a plastic scraping tool to remove all traces of old sealant.

NOTE: If the engine front cover is not secured within 4 minutes, the sealant must be removed and the sealing area cleaned. To clean the sealing area, use silicone gasket remover and metal surface prep. Follow the directions on the packaging. Failure to follow this procedure can cause future oil leakage.

NOTE: Make sure that the engine front cover gasket is in place on the engine front cover before installation.

Apply a bead of silicone gasket and sealant along the cylinder head to cylinder block surface and the oil pan to cylinder block surface. at the locations shown.





2. Install a new engine front cover gasket on the engine front cover. Position the engine front cover onto the dowels. Install the fasteners finger tight.














3. Tighten the engine front cover fasteners in the sequence shown to 25 Nm (18 ft. lbs.).





4. Loosely install the bolts, then tighten the bolts in 2 stages, in the sequence shown.
^ Stage 1: Tighten to 20 Nm (15 ft. lbs.).
^ Stage 2: Tighten an additional 60 degrees.





5. Lubricate the engine front cover and the crankshaft front oil seal inner lip with clean engine oil.





6. Using the special tools, install the crankshaft front oil seal.





7. NOTE: If not secured within 4 minutes, the sealant must be removed and the sealing area cleaned with metal surface prep and silicone gasket remover. Allow to dry until there is no sign of wetness, or 4 minutes, whichever is longer. Failure to follow this procedure can cause future oil leakage.

Apply silicone gasket and sealant to the Woodruff key slot in the crankshaft pulley.





8. Using the special tool, install the crankshaft pulley.
9. Using a new crankshaft pulley bolt, install the bolt and washer and tighten the bolt in 4 stages.
^ Stage 1: Tighten to 90 Nm (66 ft. lbs.).
^ Stage 2: Loosen 360 degrees.
^ Stage 3: Tighten to 50 Nm (37 ft. lbs.).
^ Stage 4: Tighten an additional 90 degrees.
10. Connect the CKP sensor electrical connector.
11. Position the power steering pump assembly and install the stud bolts.
^ Tighten to 25 Nm (18 ft. lbs.).





12. Install the power steering tube retaining clip and nut to the power steering stud bolt.
^ Tighten to 10 Nm (89 inch lbs.). - Install the wiring retainer.
13. Install the power steering pulley shield and 2 nuts.
^ Tighten to 10 Nm (89 inch lbs.).
14. Install the coolant pump pulley and the 4 bolts.
^ Tighten to 25 Nm (18 ft. lbs.).
15. Connect the LH CMP sensor electrical connector.
16. Install the J-bracket onto the engine front cover stud bolt.
17. Install the LH radio ignition interference capacitor and nut onto the engine front cover stud bolt.
^ Tighten to 25 Nm (18 ft. lbs.).
18. Connect the RH CMP sensor electrical connector.
19. Install the RH radio ignition interference capacitor and the nut.
^ Tighten to 25 Nm (18 ft. lbs.).
20. Connect the 2 coolant hoses to the engine coolant crossover.
21. Install the RH valve cover.
22. Install the LH valve cover.
23. Install the accessory drive belt tensioner and 3 idler pulleys. For additional information, refer to Drive Belts, Mounts, Brackets and Accessories.
24. Install the engine coolant degas bottle. For additional information, refer to Cooling System.
25. Fill the crankcase with clean engine oil.