Operation CHARM: Car repair manuals for everyone.
Manuals through 2025 now available!

Our trusted friends have launched a new website named LEMON, which has newer manuals. It also contains all the CHARM manuals.

LEMON is the spiritual successor to CHARM, I recommend you try it!

Link: lemon-manuals.la or lemon-manuals.org.ua

(Some people have issue connecting. LEMON is investigating. For now, use Firefox or change your DNS server)

Or, hide this message: temporarily or permanently

System Specifications





Cylinder head bolts

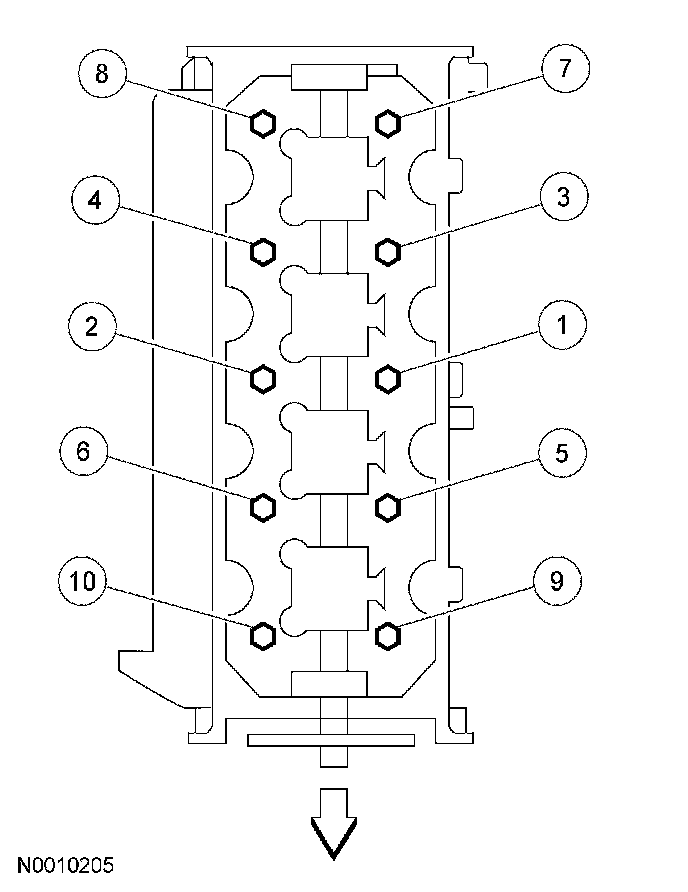
NOTE: RH shown, LH similar.

CAUTION: The cylinder head bolts must be discarded and new bolts installed. They are tighten to yield designed and cannot be reused.

Install the cylinder head bolts loosely.
Tighten the bolts in 3 stages, in the sequence shown.
^ Stage 1: Tighten to 40 Nm (30 ft. lbs.).
^ Stage 2: Tighten an additional 90 degrees.
^ Stage 3: Tighten an additional 90 degrees.





Intake manifold bolts
Tighten in the sequence shown to 10 Nm (89 inch lbs.)





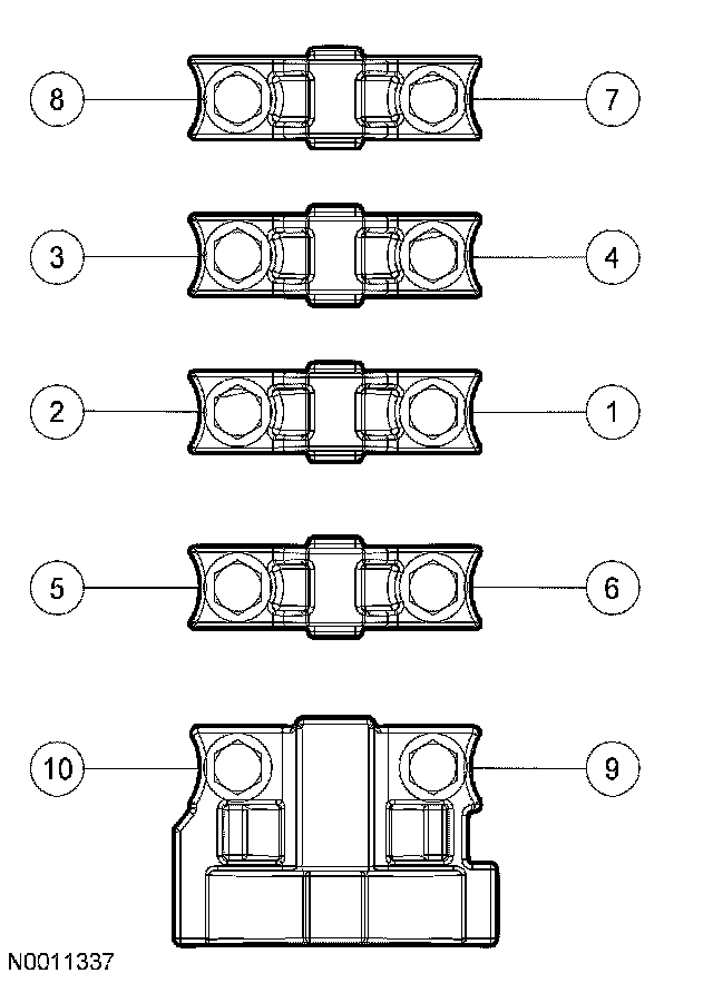
RH Camshaft bolts
Tighten the bolts in the sequence shown.
^ Tighten to 10 Nm (89 inch lbs.)





LH Camshaft bolts
Tighten the bolts in the sequence shown.
^ Tighten to 10 Nm (89 inch lbs.)

Tighten the camshaft phaser bolt in 2 stages:
^ Stage 1: Tighten to 40 Nm (30 ft. lbs.)
^ Stage 2: Tighten an additional 90 decrees





LH Exhaust manifold nuts
Tighten the nuts in the sequence shown to 25 Nm (18 ft. lbs.)





RH Exhaust manifold nuts
Tighten the nuts in the sequence shown to 25 Nm (18 ft. lbs.)