Operation CHARM: Car repair manuals for everyone.
Manuals through 2025 now available!

Our trusted friends have launched a new website named LEMON, which has newer manuals. It also contains all the CHARM manuals.

LEMON is the spiritual successor to CHARM, I recommend you try it!

Link: lemon-manuals.la or lemon-manuals.org.ua

(Some people have issue connecting. LEMON is investigating. For now, use Firefox or change your DNS server)

Or, hide this message: temporarily or permanently

Brake Pad: Service and Repair

REMOVAL AND INSTALLATION

Pads

Removal
1. Raise and support the vehicle.
2. Remove the wheel and tire assembly.

3. CAUTION: Replace the pads if worn to or past the specified thickness above the metal backing plate or rivets. Replace the pads in complete axle sets.

Inspect the pads for wear or contamination.





4. Remove the lower caliper bolt.





5. Rotate the disc brake caliper upward.





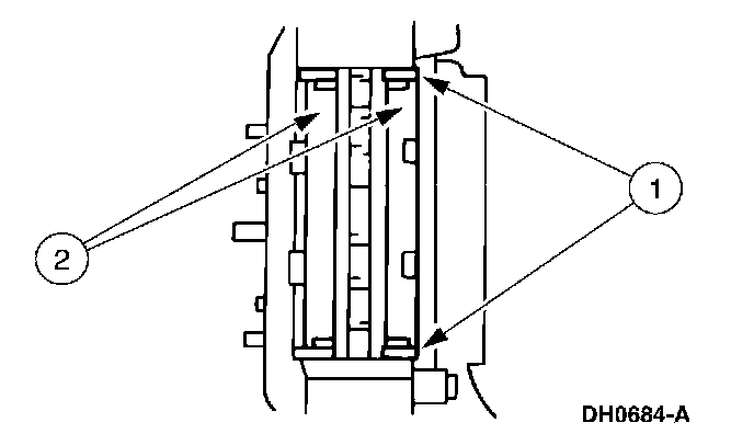
6. Remove the pads and the stainless steel slippers.
1 Remove the pads.
2 Remove the stainless steel slippers.
^ Discard the slippers.

7. Measure the brake disc and hub for minimum thickness.
^ Replace the brake disc and hub if not within specification.

8. If necessary, resurface the brake disc. Ford recommends on-vehicle rotor machining. Follow the lathe manufacturer's instructions.





9. Inspect the disc brake caliper for leaks.
^ If leaks are found, disassembly is required.

Installation

1. NOTE: Do not remove the anchor pins unless installing new pins.

Inspect the anchor plate guide pins. They should slide in and out of the anchor plates with no binding. Check the boots for cracks or tears. If the pins do not slide easily or the boots are cracked or torn, install new boots and pins. Lubricate the pins using Silicone Brake Caliper Grease and Dielectric Compound XG6 or equivalent meeting Ford specification ESEMlC171A.






2. CAUTION: Stainless steel slipper replacement is mandatory with the service brake pad installation, even if the slippers appear undamaged. Make sure the slippers are correctly positioned with the slipper ends snug against the outboard end of the anchor plate rail.

NOTE: Clean the anchor plate slipper mating surfaces.

NOTE: The inboard pad has a wear indicator tab.

Install the stainless steel slippers and the pads.
1 Install the new stainless steel slippers.
2 Install the pads.





3. Inspect the antirattle spring. Replace if worn or damaged.






4. NOTE: If installing new pads, the caliper pistons must be compressed using a C-clamp and a wooden block.

Rotate the disc brake caliper downward.





5. Install the caliper bolt.
6. Install the wheel and tire assembly.
7. Inspect the brake system operation.