Operation CHARM: Car repair manuals for everyone.
Manuals through 2025 now available!

Our trusted friends have launched a new website named LEMON, which has newer manuals. It also contains all the CHARM manuals.

LEMON is the spiritual successor to CHARM, I recommend you try it!

Link: lemon-manuals.la or lemon-manuals.org.ua

(Some people have issue connecting. LEMON is investigating. For now, use Firefox or change your DNS server)

Or, hide this message: temporarily or permanently

Installation

INSTALLATION

Engine

Special Tools And Equipment:





Special tool(s)

Material:





Material

All vehicles
1. Using the Spreader Bar and the Floor Crane, remove the engine from the stand.
2. Position the engine in the vehicle. Make sure the index marks on the torque converter stud and flexplate made during removal are lined up.
3. Install the two side transmission-to-engine bolts.






4. NOTE: Left side shown, right side similar.

Install the four engine support insulator nuts.
5. Remove the floor jack from the transmission.
6. Remove the floor crane and the spreader bar.

Vehicles with automatic transmission





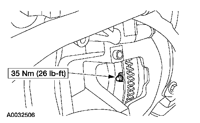
7. Install the four torque converter nuts.





8. Install the transmission fluid indicator and tube assembly.

All vehicles
9. Raise the vehicle.





10. Install the remaining nine transmission to engine bolts.





11. Install the oil filter adapter.





12. Install the starter dust shield.
13. Install the starter and the starter bolts.





14. Install the oil filter.





15. Connect the oil pressure sensor electrical connector.

Vehicles with automatic transmission





16. Connect the transmission wiring harness.
^ Position the transmission wiring and connect the push pins.
^ Connect the transmission, the backup light switch, the transmission range sensor, if equipped, and the vehicle speed sensor electrical connectors.

Vehicles with manual transmission





17. Connect the lamp electrical connection and install the pin-type retainers.





18. Connect the speed sensor electrical connector and the electrical connector on the crossmember.

All Vehicles





19. Connect the Heated Oxygen Sensor (HO2S) electrical connector at the rear of the transmission.





20. Connect the HO2S electrical connector at the bell housing.





21. Install the exhaust manifold-to-front pipe nuts.





22. Install the transmission dust shield.

Vehicles with automatic transmission





23. Install the bracket. Install the bolt retaining the transmission cooling tubes to the engine.

All vehicles





24. Position the engine wiring harness and install the anchor and the pin-type retainer.





25. Install the engine wiring harness pin-type retainer.





26. Connect the block heater electrical connector.





27. Attach alternator wiring pin-type retainer.





28. Connect the alternator electrical connectors.





29. Position the splash shield and install the push pins.
30. Lower the vehicle.





31. Position the starter wiring harness and install the bolt.





32. Connect the solenoid control wire, the negative battery cable and the positive battery cable at the starter.





33. Connect the brake booster vacuum hose and the engine ground strap.





34. Connect the following:
^ 42 pin electrical connector
^ evaporative purge hose

35. Connect the fuel supply tube to the supply manifold.






36. NOTE: Install a new nylon O-ring seal.

Connect the following:
1 the power steering high-pressure hose
2 the Power Steering Pressure (PSP) switch electrical connector





37. Connect the accelerator and speed control cables.
1 Position the accelerator cable and the speed control cable (if so equipped) into the mounting bracket.
2 Connect the accelerator cable and the speed control cable (if so equipped) to the throttle linkage.





38. Remove the plugs and connect the A/C compressor manifold.





39. Connect the Mass Air Flow (MAF) sensor electrical connector.





40. Connect the A/C compressor clutch electrical connector.





41. Connect the coolant reservoir-to-engine supply hose.





42. Connect the engine-to-coolant reservoir bypass hose.





43. Connect the vacuum hose to the vacuum reservoir.





44. Install the heater hose assembly.
1 Connect the heater hoses to the engine.
2 Connect the vacuum hose.
3 Connect the heater hoses to the heater core.





45. Install the ground stud for the PCM.





46. Position the PCM harness. Install the retaining nut on the harness clamp. Connect the PCM connector.





47. Install the lower radiator hose.
48. Install the fan shroud.





49. Install the upper radiator hose.
50. Install the air cleaner outlet pipe.





51. Install the accelerator control snow shield.
52. Install the hood.
53. Fill the engine with clean engine oil.
54. Connect the battery ground cable.
55. Fill and bleed the engine cooling system.
56. Fill and bleed the power steering system.
57. Evacuate and charge the A/C system.