Operation CHARM: Car repair manuals for everyone.
Manuals through 2025 now available!

Our trusted friends have launched a new website named LEMON, which has newer manuals. It also contains all the CHARM manuals.

LEMON is the spiritual successor to CHARM, I recommend you try it!

Link: lemon-manuals.la or lemon-manuals.org.ua

(Some people have issue connecting. LEMON is investigating. For now, use Firefox or change your DNS server)

Or, hide this message: temporarily or permanently

Climate Control System (System Airflow Description)

SYSTEM AIRFLOW DESCRIPTION - MANUAL CLIMATE CONTROL


MAX A/C:






MAX A/C
When MAX A/C is selected:
- The air inlet door vacuum control motor is at full vacuum, closing off outside air and admitting only recirculated air.
- The panel/defrost door vacuum control motor is at full vacuum and the panel/floor door vacuum control motor is at no vacuum, directing airflow to the instrument panel A/C registers. A small amount of airflow from the side window demisters will be present.
- The heater control valve is at full vacuum, preventing the flow of hot coolant to the heater core. Blended air temperature is not available.
- The A/C compressor will operate if the outside temperature is above approximately 6°C (43°F).
- The blower motor is on.


A/C:






A/C
When A/C is selected:
- The air inlet door vacuum control motor is at no vacuum, admitting only outside air into the passenger compartment.
- The panel/defrost door vacuum control motor is at full vacuum and the panel/floor door vacuum control motor is at no vacuum, directing airflow to the instrument panel A/C registers. A small amount of airflow from the side window demisters will be present.
- The heater control valve is at no vacuum, allowing the flow of hot coolant to the heater core. Blended air temperature is available.
- The A/C compressor will operate if the outside temperature is above approximately 6°C (43°F).
- The blower motor is on.


PANEL:






PANEL
When PANEL is selected:
- The air inlet door vacuum control motor is at no vacuum, admitting only outside air into the passenger compartment.
- The panel/defrost door vacuum control motor is at full vacuum and the panel/floor door vacuum control motor is at no vacuum, directing airflow to the instrument panel A/C registers. A small amount of airflow from the side window demisters will be present.
- The heater control valve is at no vacuum, allowing the flow of hot coolant to the heater core. Blended air temperature is available.
- The temperature can be adjusted to heat the air, but the air cannot be cooled below the outside temperature.
- The blower motor is on.
- The A/C compressor will not operate.


OFF:






OFF
When OFF is selected:
- The air inlet door vacuum control motor is at full vacuum, closing off outside air from entering the passenger compartment.
- The panel/floor door vacuum control motor is at full vacuum and the panel/defrost door vacuum control motor is at no vacuum, closing off airflow to the defrost duct, side window demisters, the floor duct and the instrument panel A/C registers. A small amount of airflow from the side window demisters will be present.
- The heater control valve is at full vacuum, preventing the flow of hot coolant to the heater core.
- The A/C compressor will not operate.
- The blower motor is off.


PANEL/FLOOR:






PANEL/FLOOR
When PANEL/FLOOR is selected:
- The air inlet door vacuum control motor is at no vacuum, admitting only outside air into the passenger compartment.
- The panel/defrost door vacuum control motor is at full vacuum and the panel/floor door vacuum control motor is at partial vacuum, directing airflow to the floor duct and the instrument panel A/C registers. A small amount of airflow from the side window demisters will be present.
- The heater control valve is at no vacuum, allowing the flow of hot coolant to the heater core. Blended air temperature is available.
- The A/C compressor will operate if the outside temperature is above approximately 6°C (43°F).
- The blower motor is on.







FLOOR
When FLOOR is selected:
- The air inlet door vacuum control motor is at no vacuum, admitting only outside air into the passenger compartment.
- The panel/floor door vacuum control motor is at full vacuum and the panel/defrost door vacuum control motor is at no vacuum, directing airflow to the floor duct. A small amount of airflow from the side window demisters will be present.
- The heater control valve is at no vacuum, allowing the flow of hot coolant to the heater core. Blended air temperature is available.
- The temperature can be adjusted to heat the air, but the air cannot be cooled below the outside temperature.
- The A/C compressor will not operate.
- The blower motor is on.


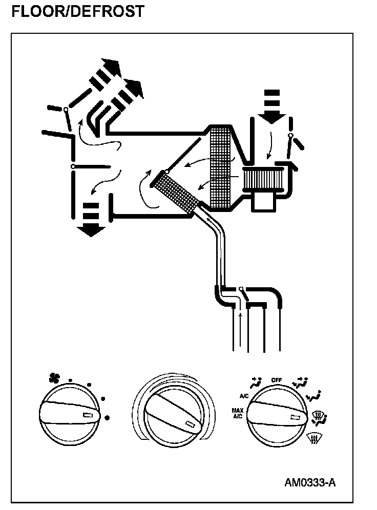
FLOOR/DEFROST:






FLOOR/DEFROST
When FLOOR/DEFROST is selected:
- The air inlet door vacuum control motor is at no vacuum, admitting only outside air into the passenger compartment.
- The panel/floor door vacuum control motor is at partial vacuum and the panel/defrost door vacuum control motor is at no vacuum, directing airflow to the floor duct, the defroster duct and the side window demisters. A small amount of airflow from the side window demisters will be present.
- The heater control valve is at no vacuum allowing the flow of hot coolant to the heater core. Blended air temperature is available.
- The temperature can be adjusted to heat or cool the air below the outside temperature.
- The A/C compressor will operate if the outside temperature is above approximately 6°C (43°F).
- The blower motor is on.


DEFROST:






DEFROST
When DEFROST is selected:
- The air inlet door vacuum control motor is at no vacuum, admitting only outside air into the passenger compartment.
- The panel/floor door and panel/defrost door vacuum control motors are at no vacuum, directing airflow to the defroster duct and the side window demisters. A small amount of airflow from the side window demisters will be present.
- The heater control valve is at no vacuum allowing the flow of hot coolant to the heater core. Blended air temperature is available.
- The temperature can be adjusted to heat or cool the air below the outside temperature.
- The A/C compressor will operate if the outside temperature is above approximately 6°C (43°F).
- The blower motor is on.


Electrical Components:






Climate Control System Electrical Components