Operation CHARM: Car repair manuals for everyone.
Manuals through 2025 now available!

Our trusted friends have launched a new website named LEMON, which has newer manuals. It also contains all the CHARM manuals.

LEMON is the spiritual successor to CHARM, I recommend you try it!

Link: lemon-manuals.la or lemon-manuals.org.ua

(Some people have issue connecting. LEMON is investigating. For now, use Firefox or change your DNS server)

Or, hide this message: temporarily or permanently

Installation

Engine Installation





Special Tool(s)





Material

Installation

1. NOTE: The studs from the torque converter must align with the engine flexplate holes to assemble the engine/transaxle. Install the indexed stud to the indexed hole in the flexplate.





Using the special tools and a suitable engine hoist, support the engine and assemble with the transaxle.





2. Install the five engine-to-transaxle bolts.





3. Install the LH engine mount nut.





4. Install the RH engine mount nut.





5. Using the special tool, install new seals on the power steering hose fitting.





6. Connect the power steering pressure line and install the clamp bolt.





7. Install the engine support brace.





8. Position the coolant tube to the head and install the coolant tube mounting bolt.





9. Install the coolant tube lower mounting bolt.





10. Using the special tool, raise the engine/transaxle assembly into the vehicle and loosely install the four subframe bolts.





11. Align the subframe with the body.
1 Install a 19 mm (0.75 inch) rod into the front LH subframe-to-body alignment hole.
2 Hand-tighten the bolt.





12. Align the subframe with the body.
1 Install a 19 mm (0.75 inch) rod into the front RH subframe-to-body alignment hole.
2 Hand-tighten the bolt.
13. Verify the subframe-to-body alignment at both of the alignment holes.





14. Tighten the four subframe bolts.

15. NOTE: Clean and decrease all sealing surfaces with metal surface cleaner.

NOTE: The oil pan must be installed and the bolts tightened within four minutes of the sealant application.





Apply a 10 mm (0.4 inch) dot of silicone gasket and sealant to the front cover-to-cylinder block mating surface.





16. Install a new gasket, position the oil pan and loosely install the bolts and the studs in the indicated sequence.





17. Install the oil pan to transaxle housing bolts.





18. Tighten the oil pan bolts and studs in sequence.





19. Position the engine-to-transaxle bracket and install the nuts and the bolt.





20. Install the four torque converter-to-flexplate nuts.





21. Install the torque converter inspection cover.





22. Clip the engine block heater harness to the engine block.





23. If equipped, connect the engine block heater electrical connector.





24. If equipped, connect the lower radiator hose and reservoir supply hose.





25. Install the radiator support bracket and bolts.





26. Connect the A/C high pressure tube to the condenser and install the nut.





27. Connect the transaxle cooler hose.





28. Connect the power steering and transaxle hoses to the cooler.





29. Position the dual converter Y-pipe and install the nuts.





30. Install the RH exhaust manifold-to-pipe bolts.

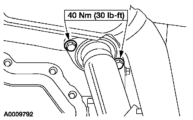
31. NOTE: RH shown, LH similar.





Connect the RH and LH tie-rod ends.
1 Install the nut.
2 Install the cotter pin.

32. NOTE: RH shown, LH similar.





Install the RH and LH sway bar end link nuts.





33. Position the starter cable and install the nut.





34. Install the starter cable cover.





35. Position the inner fender splash shield and install the pin-type retainers.





36. Position the front splash shield and install the bolts and pin-type retainers.





37. Install the two LH exhaust manifold-to-pipe nuts.





38. Connect the power steering fluid hose to the reservoir.





39. Connect the upper radiator hose.





40. Position the starter motor ground cable and install the nut.





41. Connect the coolant recovery bottle hose.





42. Install the heater hose bracket nut.





43. Connect the heater hoses.





44. Install the heater hose bracket nut.





45. Connect the low pressure A/C tube spring lock coupling at the accumulator/drier. Refer to Heating and Air Conditioning.





46. Connect the harness and tighten the bolt.





47. Clip the shifter cable to the bracket and install the nut.





48. Connect the transaxle range (TR) sensor electrical connector.





49. Install the accelerator and cruise control cables in the bracket.
^ Connect the cables and the throttle return spring.





50. Position the accelerator cable splash shield and install the pin-type retainers.





51. Connect the evaporative emission (EVAP) system hoses.





52. Connect the powertrain control module (PCM) electrical connector and tighten the bolt.





53. Position the ground strap and install the bolt.





54. Install the steering shaft pinch bolt.
55. Install the RH and LH halfshafts.
56. Install the cowl vent screen.
57. Install the air cleaner and the air cleaner outlet pipe. Refer to Fuel Delivery and Air Induction.
58. Evacuate, leak test, and charge the A/C system. Refer to Heating and Air Conditioning.
59. Fill and bleed the cooling system. Refer to Cooling System.
60. Fill and bleed the power steering system.
61. Fill the engine with clean engine oil.
62. Connect the battery ground cable. Refer to Battery.