Operation CHARM: Car repair manuals for everyone.
Manuals through 2025 now available!

Our trusted friends have launched a new website named LEMON, which has newer manuals. It also contains all the CHARM manuals.

LEMON is the spiritual successor to CHARM, I recommend you try it!

Link: lemon-manuals.la or lemon-manuals.org.ua

(Some people have issue connecting. LEMON is investigating. For now, use Firefox or change your DNS server)

Or, hide this message: temporarily or permanently

Ignition Coil: Service and Repair

IGNITION COIL-ON-PLUG







Exploded View

Removal

LH ignition coils
1. Remove the EVAP canister purge valve nuts and position the valve and bracket aside.

All ignition coils
2. Remove the 12 bolts and the 2 ignition coil covers.







3. Remove all silicone sealant and residue from the coil cover.







4. Remove all silicone sealant and residue from the valve cover surface and ignition coil wiring harness.
5. Disconnect the 8 ignition coil electrical connectors.
6. Remove the 8 ignition coil bolts.

7. NOTE: When removing the ignition coils, a slight twisting motion will break the seal and ease removal.

Remove the 8 ignition coils.

8. To install, reverse the removal procedure.

Installation

All ignition coils

1. NOTE: Apply silicone brake caliper grease and dielectric compound to the inside of ignition coil boots.

Install the ignition coils and the bolts.
- Tighten to 5 Nm (44 lb-in).

2. Connect the ignition coil electrical connectors.







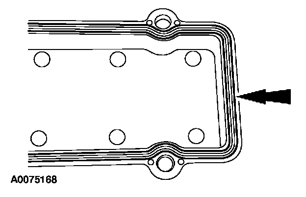
3. NOTE: Remove all dirt and moisture from the valve cover before applying silicone sealant.

Lift up the wire harness and apply a 12.7-mm (0.5-in) bead of silicone sealant in the notch of the valve cover.







4. Set the ignition coil harness in the bead of silicone sealant and apply enough additional sealant to surround the wire harness and notch.
5. Install the ignition coil covers and the bolts.
- Tighten to 5 Nm (44 lb-in).

LH ignition coils
6. Position the EVAP canister purge valve bracket and install the nuts.
- Tighten to 21 Nm (15 lb-ft).