Operation CHARM: Car repair manuals for everyone.
Manuals through 2025 now available!

Our trusted friends have launched a new website named LEMON, which has newer manuals. It also contains all the CHARM manuals.

LEMON is the spiritual successor to CHARM, I recommend you try it!

Link: lemon-manuals.la or lemon-manuals.org.ua

(Some people have issue connecting. LEMON is investigating. For now, use Firefox or change your DNS server)

Or, hide this message: temporarily or permanently

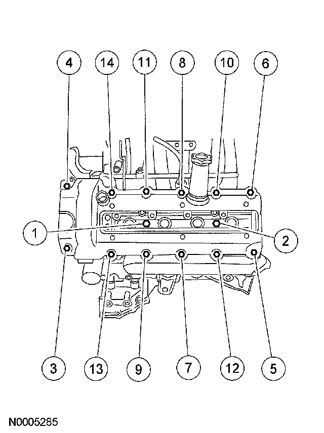
Valve Cover





LH Valve Cover
Install the LH valve cover.
Tighten the bolts in the sequence shown to 10 Nm (89 inch lbs.).





RH Valve Cover
Install the RH valve cover.
Tighten the bolts in the sequence shown to 10 Nm (89 inch lbs.).