Operation CHARM: Car repair manuals for everyone.
Manuals through 2025 now available!

Our trusted friends have launched a new website named LEMON, which has newer manuals. It also contains all the CHARM manuals.

LEMON is the spiritual successor to CHARM, I recommend you try it!

Link: lemon-manuals.la or lemon-manuals.org.ua

(Some people have issue connecting. LEMON is investigating. For now, use Firefox or change your DNS server)

Or, hide this message: temporarily or permanently

Retractable Running Board

RETRACTABLE RUNNING BOARD







Removal and Installation

1. NOTE: If the retractable running board cannot be extended, extend the running board by hand.

Extend the retractable running board.







2. Disconnect the retractable running board motor electrical connector.







3. Remove the parking brake cable retainer bolt and position the cable and retainer aside.
- To install, tighten to 17 Nm (13 lb-ft).







4. Remove the rear retractable running board bracket bolts.
- To install, tighten to 25 Nm (18 lb-ft).







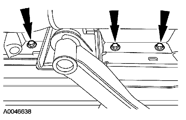
5. Remove the front retractable running board bracket bolts.
- To install, tighten to 25 Nm (18 lb-ft).







6. CAUTION: An assistant is required to hold the retractable running board before removing the lower bolts.

Remove the front retractable running board lower bracket bolts.
- To install, tighten to 25 Nm (18 lb-ft).







7. Remove the rear retractable running board lower bracket bolts and remove the retractable running board.
8. To install, reverse the removal procedure.