Operation CHARM: Car repair manuals for everyone.
Manuals through 2025 now available!

Our trusted friends have launched a new website named LEMON, which has newer manuals. It also contains all the CHARM manuals.

LEMON is the spiritual successor to CHARM, I recommend you try it!

Link: lemon-manuals.la or lemon-manuals.org.ua

(Some people have issue connecting. LEMON is investigating. For now, use Firefox or change your DNS server)

Or, hide this message: temporarily or permanently

Part 2

Engine

Assembly (Steps 36-70)

36. Remove the tensioner from the vise.





37. If the copper links are not visible, mark 2 links on one end and 1 link on the other end, and use as timing marks.





38. Install the crankshaft sprocket, making sure the flange faces forward.





39. Install the 4 bolts and the LH and RH timing chain guides.
^ Tighten to 10 Nm (89 inch lbs.).





40. Position the lower end of the LH (inner) timing chain on the crankshaft sprocket, aligning the timing mark on the outer flange of the crankshaft sprocket with the single copper (marked) link on the chain.





41. NOTE: Make sure the upper half of the timing chain is below the tensioner arm dowel.

Position the timing chain on the VCT phaser sprocket with the timing mark positioned between the 2 copper (marked) chain links.





42. NOTE: The LH timing chain tensioner arm has a bump near the dowel hole for identification.

Position the LH timing chain tensioner arm on the dowel pin and install the LH timing chain tensioner and bolts.
^ Tighten to 25 Nm (18 ft. lbs.).





43. Remove the retaining clip from the LH timing chain tensioner.





44. Position the lower end of the RH (outer) timing chain on the crankshaft sprocket, aligning the timing mark on the sprocket with the single copper (marked) chain link.





45. NOTE: The lower half of the timing chain must be positioned above the tensioner arm dowel.

Position the RH timing chain on the VCT phaser sprocket with the timing mark positioned between the 2 copper (marked) chain links.





46. Position the RH timing chain tensioner arm on the dowel pin and install the RH timing chain tensioner and bolts.
^ Tighten to 25 Nm (18 ft. lbs.).





47. Remove the retaining clip from the RH timing chain tensioner.





48. As a post-check, verify correct alignment of all timing marks.





49. Install the crankshaft sensor ring on the crankshaft.





50. Using the special tool, install all of the camshaft roller followers.
^ Lubricate the camshaft roller followers with clean engine oil prior to installation.





51. CAUTION: Do not use metal scrapers, wire brushes, power abrasive discs or other abrasive means to clean the sealing surfaces. These tools cause scratches and gouges which make leak paths. Use a plastic scraping tool to remove all traces of old sealant.

NOTE: If the engine front cover is not secured within 4 minutes, the sealant must be removed and the sealing area cleaned with silicone gasket remover and metal surface prep. Follow the directions on the packaging. Allow to dry until there is no sign of wetness, or 4 minutes, whichever is longer. Failure to follow this procedure can cause future oil leakage.

NOTE: Make sure that the engine front cover gasket are in place on the engine front cover before installation.

Apply a bead of silicone gasket and sealant along the cylinder head-to-cylinder block surface at the locations shown.





52. Install new engine front cover gaskets on the engine front cover. Position the engine front cover onto the dowels. Install the fasteners finger-tight.











53. Tighten the engine front cover fasteners in sequence in 2 stages.
^ Stage 1: Tighten fasteners 1 through 15 to 25 Nm (18 ft. lbs.).
^ Stage 2: Tighten fasteners 6 and 7 to 48 Nm (35 ft. lbs.).





54. NOTE: Lubricate the new O-ring seal with clean engine oil prior to installation.

Install the LH camshaft position (CMP) sensor and the bolt.
^ Tighten to 10 Nm (89 inch lbs.).





55. NOTE: Lubricate the new O-ring seal with clean engine oil prior to installation.

Install the RH CMP sensor and the bolt.
^ Tighten to 10 Nm (89 inch lbs.).





56. CAUTION: Do not rotate the coolant pump housing once the coolant pump has been positioned in the cylinder block. Damage to the O-ring seal will occur.

Position the coolant pump and install the bolts loosely.
^ Lubricate the new O-ring seal using clean engine coolant and install the O-ring seal onto the coolant pump.





57. Tighten the 4 coolant pump bolts.
^ Tighten to 25 Nm (18 ft. lbs.).





58. Lubricate the engine front cover and the crankshaft front seal inner lip with clean engine oil.





59. Using the special tools, install a new crankshaft front seal into the engine front cover.





60. NOTE: If not secured within 4 minutes, the sealant must be removed and the sealing area cleaned with silicone gasket remover and metal surface prep. Follow the directions on the packaging. Allow to dry until there is no sign of wetness, or 4 minutes, whichever is longer. Failure to follow this procedure can cause future oil leakage.

Apply silicone gasket and sealant to the Woodruff key slot on the crankshaft pulley.





61. Use the special tool to install the crankshaft pulley.





62. Tighten the new crankshaft pulley bolt in 4 stages.
^ Stage 1: Tighten to 90 Nm (66 ft. lbs.).
^ Stage 2: Loosen 360°.
^ Stage 3: Tighten to 50 Nm (37 ft. lbs.).
^ Stage 4: Tighten an additional 90°.





63. Position the crankshaft position (CKP) sensor and the bolt.
^ Tighten to 10 Nm (89 inch lbs.).





64. Position the accessory drive belt tensioner and install the 3 bolts.
^ Tighten to 25 Nm (18 ft. lbs.).





65. Install the 3 accessory drive belt idler pulleys, the coolant pump pulley and the 7 bolts.
^ Tighten to 25 Nm (18 ft. lbs.).





66. CAUTION: Do not use metal scrapers, wire brushes, power abrasive discs or other abrasive means to clean the sealing surfaces. These tools cause scratches and gouges which make leak paths. Use a plastic scraping tool to remove all traces of old sealant.

NOTE: Clean and inspect the mating surfaces, and install a new gasket.

Position the oil filter adapter and install the 4 bolts.
^ Tighten to 25 Nm (18 ft. lbs.).





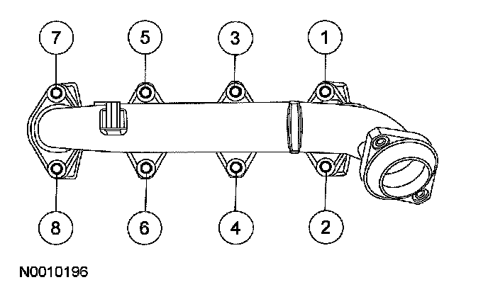
67. Position a new gasket, the LH exhaust manifold and tighten the 8 nuts in the sequence shown.
^ Tighten to 25 Nm (18 ft. lbs.).





68. Install the LH engine support insulator and the 3 bolts.
^ Tighten to 63 Nm (46 ft. lbs.).





69. Position a new gasket, the RH exhaust manifold and tighten the 8 nuts in the sequence shown.
^ Tighten to 25 Nm (18 ft. lbs.).





70. Install the RH engine support insulator and the 3 bolts.
^ Tighten to 63 Nm (46 ft. lbs.).