Operation CHARM: Car repair manuals for everyone.
Manuals through 2025 now available!

Our trusted friends have launched a new website named LEMON, which has newer manuals. It also contains all the CHARM manuals.

LEMON is the spiritual successor to CHARM, I recommend you try it!

Link: lemon-manuals.la or lemon-manuals.org.ua

(Some people have issue connecting. LEMON is investigating. For now, use Firefox or change your DNS server)

Or, hide this message: temporarily or permanently

Interior Mirror

INTERIOR MIRROR


Installer, Rear View Mirror:






Special Tool(s)







Removal

All vehicles
1. If equipped, disconnect the interior rear view mirror compass electrical connector.
2. If equipped, disconnect the auto-dimming interior rear view mirror electrical connector.

Explorer







3. Position the interior rear view mirror in the full down position. Grasp the interior rear view mirror and rotate in a direction downward and toward the windshield until released from the mirror windshield bracket.

Mountaineer







4. Position the auto-dimming interior rear view mirror outboard (toward the driver door) to its full extension.







5. Rotate the auto-dimming interior rear view mirror back until it is parallel with the windshield. The auto-dimming interior rear view mirror mount is now locked between the 2 adjustment balls and joints.







6. NOTE: It takes approximately 10 pounds of force to remove the auto-dimming interior rear view mirror from the windshield bracket.

Hold the auto-dimming interior rear view mirror firmly in one hand and strike the auto-dimming interior mirror with the palm of an open hand.

Installation

Mountaineer







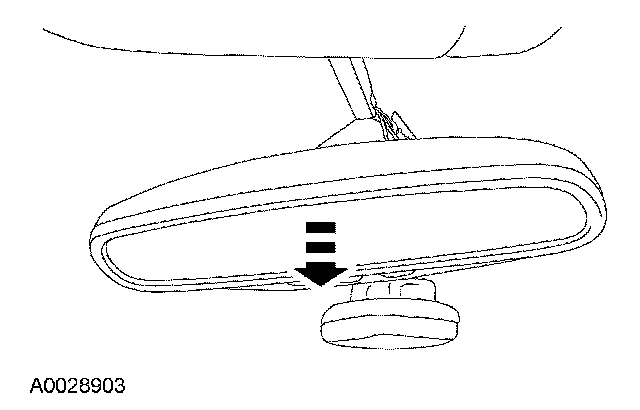
1. Seat the auto-dimming interior rear view mirror base partially on the mounting button.







2. Rotate the auto-dimming interior rear view mirror fully upward.







3. Slide the auto-dimming interior rear view mirror base down on the mounting button until an audible click is heard.

Explorer







4. Place the interior rear view mirror on the mirror windshield bracket. Using the special tool, press the mirror in place until fully seated.

All vehicles
5. If equipped, connect the auto-dimming interior rear view mirror electrical connector.
6. If equipped, connect the interior rear view mirror compass electrical connector.