Operation CHARM: Car repair manuals for everyone.
Manuals through 2025 now available!

Our trusted friends have launched a new website named LEMON, which has newer manuals. It also contains all the CHARM manuals.

LEMON is the spiritual successor to CHARM, I recommend you try it!

Link: lemon-manuals.la or lemon-manuals.org.ua

(Some people have issue connecting. LEMON is investigating. For now, use Firefox or change your DNS server)

Or, hide this message: temporarily or permanently

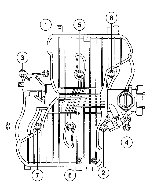
Cylinder Head Assembly





Stage 1: 20 Nm (15 ft. lbs.)
Stage 2: 40 Nm (30 ft. lbs.)
Stage 3: 50 Nm (37 ft. lbs.)

CAUTION: Each bolt must be loosened and the final tightening carried out prior to working on the next bolt in the sequence. Do not loosen all of the bolts at one time.

Carry out the following final tightening process on each bolt in the sequence shown.
Long bolts:
Loosen and back out 3 turns.
Tighten to 45 Nm (33 ft. lbs.)
Tighten an additional 180 degrees
Continue on to the next bolt in the sequence.
Short bolts
Loosen and back out 3 turns.
Tighten to 25 Nm (18 ft. lbs.)
Tighten an additional 180 degrees
Continue on to the next bolt in the sequence.

Bolts are tighten-to-yield and cannot be reused

Cylinder head gasket surface flatness 0.18 mm (0.007 inch)

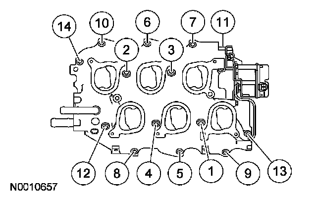
Upper Intake





Stage 1: 6 Nm (53 inch lbs.)
Stage 2: 10 Nm (89 inch lbs.)

Lower Intake





Stage 1: 5 Nm (44 inch lbs.)
Stage 2: 10 Nm (89 inch lbs.)








Exhaust manifold 25 Nm (18 ft. lbs.)