Operation CHARM: Car repair manuals for everyone.
Manuals through 2025 now available!

Our trusted friends have launched a new website named LEMON, which has newer manuals. It also contains all the CHARM manuals.

LEMON is the spiritual successor to CHARM, I recommend you try it!

Link: lemon-manuals.la or lemon-manuals.org.ua

(Some people have issue connecting. LEMON is investigating. For now, use Firefox or change your DNS server)

Or, hide this message: temporarily or permanently

System Specifications

Cylinder Block
Cylinder bore diameter - Grade 1 90.200-90.213 mm (3.5512-3.5517 inch)
Cylinder bore diameter - Grade 2 90.213-90.226 mm (3.5517-3.5522 inch)
Cylinder bore diameter - Grade 3 90.226-90.239 mm (3.5522-3.5527 inch)
Cylinder bore maximum taper 0.006 mm (0.00023 inch)
Cylinder bore maximum out-of-round 0.020 mm (0.00079 inch)
Main bearing bore inside diameter 72.402-72.422 mm (2.850-2.851 inch)
Cylinder bore diameter-surface finish (RMS) 0.2-0.6 microns

Crankshaft
Main bearing journal diameter 67.483-67.503 mm (2.65 inch)
Main bearing journal maximum taper 0.004 mm (0.0002 inch)
Main bearing journal maximum out-of-round 0.06 mm (0.002 inch)
Main bearing journal-to- cylinder block clearance 0.027-0.065 mm (0.00 11-0.0026 inch)
Connecting rod journal diameter 52.983-53.003 mm (2.0859-2.0867 inch)
Connecting rod journal maximum taper 0.004 mm (0.0002 inch)
Connecting rod journal maximum out-of-round 0.006 mm (0.0002 inch)
Crankshaft maximum end play 0.130-0.301 mm (0.0051-0.012 inch)





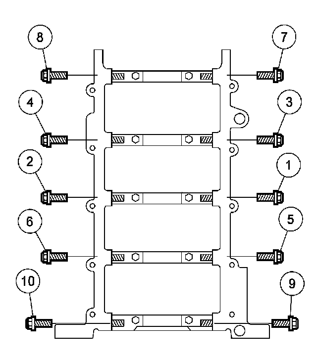
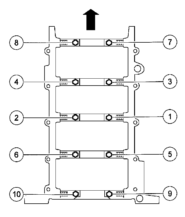
Crankshaft main bearing bolts (vertical )
Stage 1: 40 Nm (30 ft. lbs.)
Stage 2: additional 90 degrees





Jack screws
Stage 1: 5 Nm (44 inch lbs.)
Stage 2: 10 Nm (89 inch lbs.)





Crankshaft main bearing bolts (side bolts) 21 Nm (15 ft. lbs.)

Piston and Connecting Rod
Piston diameter - coded red 1 90.177-90.197 mm (3.550-3.551 inch)
Piston diameter - coded blue 2 90.190-90.210 mm (3.5507-3.5515 inch)
Piston diameter - coded yellow 3 90.203-90.223 mm (3.513-3.5521 inch)
Piston-to- cylinder bore clearance 0.012-0.0026 mm (0.0005-0.0001 inch)
Piston ring end gap - compression (top and bottom) 0.23-0.49 mm (0.010-0.020 inch)
Piston ring end gap - oil ring (steel rail) 0.05-0.66 mm (0.006-0.026 inch)
Piston ring groove width - compression (top) 1.520-1.550 mm (0.002-0.610 inch)
Piston ring groove width - compression (bottom) 1.520-1.530 mm (0.060-0.0602 inch)
Piston ring groove width - oil ring 6,996-7,224 mm(0.275-0.2844 inch)
Piston ring width - compression 1.49-1.47 mm(0.0587-0.0579 inch)
Piston ring width - oil ring rail (2) 0.473-0.447 mm (0.0186-0.0176 inch), 0.483 mm (0.0190 inch) max. at ID
Piston ring width - oil ring expander 2.038-1.960 mm (0.080-0.077 inch)
Piston ring-to-groove clearance - compression 0.030-0.070 mm (0.0012-0.0028 inch)
Piston ring-to-groove clearance - oil ring assembly 0.046-0.196 mm (0.0018-0.0077 inch)
Piston pin bore diameter 22.0015-22.004 mm (0.866-0.8663 inch)
Piston pin diameter 22.0 mm (0.866 inch)
Piston pin length 61.8 mm (2.433 inch)
Piston pin-to-piston fit 0.005-0.010 mm (0.0002-0.0004 inch)
Connecting rod-to-pin clearance 0.015-0.040 mm (0.0006-0.0016 inch)
Connecting rod pin bore diameter 21.959-21.979 mm (0.864-0.865 inch)
Connecting rod length (center-to-center) 150.7 mm (5.93 inch)
Connecting rod maximum allowed bend 0.038 mm per 25 mm (0.0015-0.984 inch)
Connecting rod maximum allowed twist e 0.050 mm per 25 mm (0.0015-0.984 inch)
Connecting rod bearing bore diameter 56.756-56.876 mm (2.234-2.24 inch)
Connecting rod bearing-to-crankshaft clearance 0.027-0.069 mm (0.001-0.0027 inch)
Connecting rod side clearance (assembled to crank) - standard 0.015-0.45 mm (0.0006-0.0177 inch)
Connecting rod side clearance (assembled to crank) - service limit 0.05 mm (0.002 inch) max.

Crankshaft pulley bolt
Stage 1: 90 Nm (66 ft. lbs.)
Stage 2: Loosen one full turn.
Stage 3: 50 Nm (37 ft. lbs.)
Stage 4: additional 90 degrees