Operation CHARM: Car repair manuals for everyone.
Manuals through 2025 now available!

Our trusted friends have launched a new website named LEMON, which has newer manuals. It also contains all the CHARM manuals.

LEMON is the spiritual successor to CHARM, I recommend you try it!

Link: lemon-manuals.la or lemon-manuals.org.ua

(Some people have issue connecting. LEMON is investigating. For now, use Firefox or change your DNS server)

Or, hide this message: temporarily or permanently

Screen Method Aiming

SCREEN METHOD AIMING

All headlamp types

NOTE:
- Horizontal aim is not necessary for VOL or VOR headlamps.
- Consult your state vehicle inspection manual for recommended tolerance ranges for visual aiming.
- The sight shield may need to be positioned or removed for access to the adjusters.

1. Before starting headlamp adjustment:
- check the tire inflation.
- check that no other load is in the vehicle other than a half tank of fuel.
- check that the headlamps are clean.
- check for correct headlamp operation.
- check that the vehicle is on level ground.
- if the vehicle is equipped with air suspension, make sure that the switch is on.







2. NOTE: The vertical wall or screen must be a minimum of 2.4-m (8-ft) wide.

Park the vehicle on a level surface approximately 7.6-m (25-ft) from the vertical wall or screen directly in front of it.







3. NOTE: The center of the lamp is marked either on the lens (circle, crosshair or other mark) or on the bulb shield internal to the lamp (crosshair or other mark).

Mark a horizontal reference line on the vertical wall or screen.
1 Measure the center of the headlamp height to ground and record the measurement.
2 Make a 2.4-meter (8-ft) horizontal mark (using masking tape) on the vertical wall or screen at the same distance from the ground as previously recorded.

4. NOTE: This procedure should be done in a dark environment to effectively see the headlamp beam pattern.

Turn on the low beam headlamps to illuminate the wall or screen and open the hood.

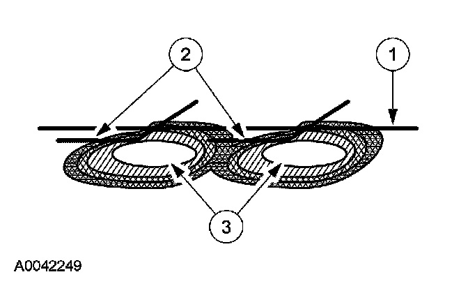
5. NOTE: For SAE-type headlamps, the appearance of the beam pattern may vary between vehicles.

On the wall or screen, locate the high intensity area of the beam pattern. Place the top edge of the high intensity zone even with the horizontal reference line.

SAE-type headlamps







6. In addition to the horizontal line marked in Step 3, a pair of vertical lines must be marked at the center line of the headlamps on the wall or screen.
1 Mark the center line of the vehicle on the wall or screen.
2 Measure from the center of the headlamp to the center line of the vehicle.
3 Make two 1.5-meter (5-ft) vertical marks (using masking tape) on the wall or screen at the same distance from the vehicle center line as previously recorded.

7. On the wall or screen, locate the high intensity area of the beam pattern. Place the left edge of the high intensity zone even with the vertical line corresponding to the headlamp being adjusted.

VOR-type headlamps







8. NOTE: The appearance of the VOR beam pattern may vary between vehicles.

Identify at the top edge of this high intensity area a distinct horizontal cutoff in the beam pattern. If the top edge of this cutoff is not even with the horizontal reference line, the headlamp beam needs to be adjusted.

VOL-type headlamps







9. For VOL-type headlamps, there is a distinct cutoff in the left portion of the beam pattern. The edge of this cutoff should be positioned 50.2 mm (2 in) below the horizontal reference line.
1 Horizontal reference line.
2 Top edge of the beam pattern.
3 High intensity zone.