Operation CHARM: Car repair manuals for everyone.
Manuals through 2025 now available!

Our trusted friends have launched a new website named LEMON, which has newer manuals. It also contains all the CHARM manuals.

LEMON is the spiritual successor to CHARM, I recommend you try it!

Link: lemon-manuals.la or lemon-manuals.org.ua

(Some people have issue connecting. LEMON is investigating. For now, use Firefox or change your DNS server)

Or, hide this message: temporarily or permanently

Part 2

Engine Continued





Remove the RH and LH cylinder heads and the gaskets. Discard the gasket.

51. CAUTION: Do not use metal scrapers, wire brushes, power abrasive discs or other abrasive means to clean the seating surfaces. These tools cause scratches and gouges that make leak paths. Use a plastic scraping tool to remove all traces of the head gasket.

CAUTION: Observe all warnings or cautions and follow all application directions contained on the packaging of the silicone gasket remover and the metal surface prep.

NOTE: If there is no residual gasket material present, metal surface prep can be used to clean and prepare the surfaces.

Clean the cylinder head-to-cylinder block mating surfaces of both the cylinder heads and the cylinder block.
1 Remove any large deposits of silicone or gasket material with a plastic scraper.
2 Apply silicone gasket remover, following package directions and allow to set for several minutes.
3 Remove the silicone gasket remover with a plastic scraper. A second application of silicone gasket remover may be required if residual traces of silicone or gasket material remain.
4 Apply metal surface prep, following package directions, to remove any traces of oil or coolant and to prepare the surfaces to bond with the new gasket. Do not attempt to make the metal shiny. Some staining of the metal surfaces is normal.
52. Inspect the cylinder heads for distortion.





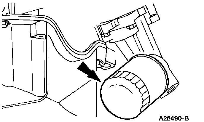
53. Remove and discard the engine oil filter.

54. CAUTION: A new oil cooler must be installed or severe damage to the engine can occur.





If equipped, remove the oil cooler and tube assembly bolt.
^ Discard the oil cooler and tube assembly.





55. Remove the oil pressure sensor.

56. NOTE: Discard the oil pan rear seal.





Remove the 17 bolts and the oil pan.

57. NOTE: In some cases the oil pump intermediate shaft may not come out with the synchronizer assembly. If so, retrieve the intermediate shaft before proceeding.





Remove the bolt and the camshaft synchronizer assembly.





58. Using the special tool, remove the crankshaft damper and pulley assembly.





59. Using the special tool, remove the crankshaft front seal. Discard the seal.





60. Remove the coolant pump.
^ Remove the 4 nuts, 4 bolts and the stud bolt.
^ Remove the coolant pump.
^ Discard the coolant pump housing gasket.





61. Remove the engine front cover and oil pump assembly and the engine front cover gasket.
1 Remove the 2 stud bolts.
2 Remove the bolt.

3 CAUTION: The capscrew is hidden; make sure to remove it or the engine front cover will be damaged. Remove the capscrew.

4 Slide the engine front cover and engine front cover gasket from the dowels. Discard the engine front cover gasket.
5 Remove the 4 studs.





62. Remove the camshaft synchronizer drive gear.
1 Remove the bolt.
2 Remove the camshaft synchronizer drive gear.





63. Compress and install a retaining pin to hold the timing chain tensioner.





64. Remove the camshaft gear, the crankshaft gear and the timing chain as an assembly.





65. Remove the bolts and the timing chain tensioner.

66. NOTE: If the valve tappets are to be reinstalled, they must be installed into their original locations. Mark the valve tappets for installation.





Remove the 12 valve tappets.
1 Remove the 2 bolts.
2 Remove the tappet guide plate and retainer.
3 Remove the 12 valve tappets.





67. Remove the engine balance shaft drive gear and camshaft key.





68. Remove the engine dynamic balance shaft.
^ Remove the 2 bolts.
^ Remove the balance shaft driven gear, thrust plate and engine dynamic balance shaft as an assembly.





69. Remove the camshaft.
1 Remove the 2 bolts.
2 Remove the camshaft thrust plate.
3 Remove the spacer.
4 Remove the camshaft.





70. Remove the bearing covers.
1 Remove the engine dynamic balance shaft bearing cover.
2 Remove the camshaft bearing cover.





71. Remove the oil pump screen cover and tube.
^ Remove the nut.
^ Remove the 2 bolts.





72. Remove the 5 nuts and the oil pan baffle.
73. If necessary, remove the ridge at the top of the cylinder.

74. CAUTION: The connecting rods and bearings are matched to the crankshaft journals. Make sure the components are marked and installed in the correct location.

CAUTION: Each connecting rod and connecting rod cap are matched sets. They will fit together only one way. Mark them before removing.

CAUTION: Do not damage the connecting rod and the connecting rod cap fractured joint face surface or engine damage can occur.





Remove the piston.
1 Make sure the piston being removed is at the bottom of the cylinder bore.
2 Remove the 2 bolts.
3 Remove the connecting rod cap and the lower connecting rod bearing.

4 CAUTION: Do not damage the cylinder wall when removing the piston.

Push the piston and the connecting rod out of the cylinder.
75. Repeat the piston removal steps for the remaining pistons.

76. CAUTION: The crankshaft main bearings and the main bearing caps are matched to the crankshaft journals. Make sure the components are marked for position.

NOTE: The crankshaft main bearing located at the main bearing cap is the thrust bearing.





Remove the 4 main bearing caps and lower crankshaft main bearings.
1 Remove the 2 stud bolts.
2 Remove the main bearing cap and lower crankshaft main bearing.
77. Repeat the main bearing cap and the lower bearing removal steps for the remaining main bearing caps and the lower crankshaft main bearings.

78. CAUTION: The crankshaft journals must be protected from damage when the crankshaft is removed.





Remove the crankshaft.

79. NOTE: For ease in reassembly, record the location of the crankshaft upper thrust bearing.





Remove the upper 4 crankshaft main bearings and the crankshaft upper thrust bearing.





80. Remove the 4 camshaft bearings.





81. Remove the 2 engine dynamic balance shaft bearings.





82. If equipped, remove the engine block heater.

83. NOTE: For cleaning purposes, the plugs should be removed.





If necessary, remove the following:
1 Cylinder block dowels
2 Oil gallery plugs
3 Coolant jacket plugs