Part 3
TransaxleAssembly (Steps 71-106)
71. Install the remaining bolts.
^ Tighten No. 1 to 30 Nm (22 ft. lbs.).
^ Tighten No. 2 to 41 Nm (30 ft. lbs.).
^ Tighten No. 3 to 28 Nm (21 ft. lbs.).
^ Tighten No. 4 to 13 Nm (10 ft. lbs.).
72. Install the bolts.
^ Tighten No. 1 to 30 Nm (22 ft. lbs.).
^ Tighten No. 2 to 13 Nm (10 ft. lbs.).
73. CAUTION: The test spring from the overdrive servo rod tool is plain in color and has a shorter free height than the operational spring. Extreme care must be used not to assemble the transaxle using the test spring.
Inspect the spring height.
1. Test spring.
2. Original spring.
74. Check overdrive servo travel. Install the overdrive servo piston.
1. Install the test spring.
2. Install the overdrive servo piston.
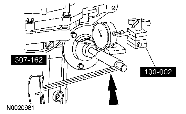
75. Install the special tools.
^ Tighten to 10 Nm (89 inch lbs.).
76. Using the special tools, tighten the center screw and zero out the dial indicator.
^ Tighten to 1.13 Nm (10 inch lbs.).
77. Using the special tools, back off the center screw until the piston movement stops and read the dial indicator. The reading should be within specification. If the reading does not match the specification, refer to the overdrive specification chart and determine which overdrive servo rod to use.
78. If the overdrive servo travel was incorrect, install a new overdrive servo rod. Zero the dial indicator and repeat the above step to verify the amount of piston travel. If within specification, remove the tool and test spring.
Overdrive Piston Rod Selection Chart:
Overdrive Piston Rod Selection Chart
79. CAUTION: Do not assemble the transaxle using the test spring.
Install the overdrive servo.
1. Install the overdrive servo spring.
2. Install the overdrive servo.
3. Install the overdrive servo cover and bolts.
^ Tighten to 13 Nm (10 ft. lbs.).
80. Install the transmission test plate.
81. WARNING: Wear safety glasses while carrying out this procedure to prevent personal injury.
NOTE: When applying regulated 276 kPa (40 psi) air pressure to the appropriate passage, a dull thud should be heard when the clutch or band applies. There should be no hissing sound when the clutch or band applies.
NOTE: Plugging the vent hole during the test will provide an inaccurate result.
Cover the vent hole in the test plate with a clean lint free shop towel to prevent spray when air is applied. Apply air pressure to the appropriate clutch ports.
82. CAUTION: The seals must be lapped correctly or internal leakage will occur.
Install the new Teflon seals on the pump shaft.
83. Install the pump shaft.
84. Install the manual valve detent lever.
85. Install the main control valve body over the pump shaft and connect the main control valve actuating rod while pushing down until it is seated on the chain cover.
86. CAUTION: Do not use the bolts to draw pump assembly and main control valve body onto the chain cover case. Component damage may occur.
Use the valve body guide pins to install the pump assembly and main control valve body. Install the bolts and tighten in sequence.
^ Tighten to 13 Nm (10 ft. lbs.).
87. Connect the connectors.
88. NOTE: The transaxle side cover gasket is reusable if not torn or ripped.
Remove the gasket. Clean and inspect the gasket, and reinstall into the pan.
89. Install the M6 x 1.00 pan bolts.
^ Tighten to 12 Nm (9 ft. lbs.).
90. Install the M8 x 1.25 pan bolts.
^ Tighten to 29 Nm (21 ft. lbs.).
91. Install the mounting bracket and bolts.
^ Tighten to 62 Nm (46 ft. lbs.).
92. Tighten the reverse clutch anchor bolt.
1. Tighten the anchor bolt.
^ Tighten to 11 Nm (8 ft. lbs.).
2. Tighten the locknut.
^ Tighten to 54 Nm (40 ft. lbs.).
93. Install the new seal and gasket kit and seal assembly.
94. Install the fluid pan magnet.
95. NOTE: The gasket is reusable if not damaged or torn. Install the transmission fluid pan and gasket.
^ Tighten to 12 Nm (9 ft. lbs.).
96. Install the turbine shaft speed (TSS) sensor and bolt.
^ Tighten to 11 Nm (8 ft. lbs.).
97. NOTE: Locate and align the orange dot adjacent to the stud on the torque converter and place it in the 6 o'clock position.
Verify that the shift selector lever is in NEUTRAL.
98. Install the digital TR sensor and loosely Install the bolts.
99. Using the special tool, align the digital TR sensor and tighten the bolts.
^ Tighten to 11 Nm (8 ft. lbs.).
100. Install the fluid filler tube with a new grommet.
1. Install the grommet.
2. Install the fluid filler tube and bolt.
^ Tighten to 13 Nm (10 ft. lbs.).
101. Using the special tool, install the LH output shaft seal.
102. Using the special tool, install the RH output shaft seal.
103. Install the output shaft speed (OSS) sensor and reconnect the harness.
104. Install the OSS sensor cover.
1. Install the OSS cover.
2. Install the bolt.
^ Tighten to 11 Nm (8 ft. lbs.).
3. Connect the connector to the bracket.
105. Install the identification tag, if removed.
106. NOTE: Locate and align the orange dot adjacent to the stud on the torque converter and place it in the 6 o'clock position.
Using the special tools, install the torque converter.