Operation CHARM: Car repair manuals for everyone.
Manuals through 2025 now available!

Our trusted friends have launched a new website named LEMON, which has newer manuals. It also contains all the CHARM manuals.

LEMON is the spiritual successor to CHARM, I recommend you try it!

Link: lemon-manuals.la or lemon-manuals.org.ua

(Some people have issue connecting. LEMON is investigating. For now, use Firefox or change your DNS server)

Or, hide this message: temporarily or permanently

Part 3



Engine

Disassembly (Steps 65-107)





65. Remove the 2 bolts and the fuel rail and injector assembly.





66. Remove the 4 bolts and the 4 coil-on-plug assemblies.





67. Remove the oil level indicator.





68. Loosen the 14 retainers and remove the valve cover.
^ Discard the gaskets.

69. CAUTION: Failure to position the No. 1 piston at top dead center (TDC) can result in damage to the engine. Turn the engine in the normal direction of rotation only.





Using the crankshaft pulley bolt, turn the crankshaft clockwise to position the No. 1 piston at TDC.
^ The hole in the crankshaft pulley should be in the 6 o'clock position.

70. CAUTION: The special tool 303-465 is for camshaft alignment only. Using this tool to prevent engine rotation can result in engine damage.

NOTE: The camshaft timing slots are offset. If the special tool cannot be installed, rotate the crankshaft one complete revolution clockwise to correctly position the camshafts.





Install the special tool in the slots on the rear of both camshafts.





71. Remove the engine plug bolt.

72. NOTE: The special tool will contact the crankshaft and prevent it from turning past TDC. However, the crankshaft can still be rotated in the counterclockwise direction.





Install the special tool.





73. NOTICE: The crankshaft must remain in the TDC position during removal of the pulley bolt or damage to the engine can occur. Therefore, the crankshaft pulley must be held in place with the Crankshaft Damper Holding Tool and the bolt should be removed using an air impact wrench (1/2 in. drive minimum).

NOTICE: The crankshaft sprocket diamond washer may come off with the crankshaft pulley. The diamond washer must be replaced; remove and discard the diamond washer. If the diamond washer is not installed, engine damage may occur.

Using the Crankshaft Damper Holding Tool and an air impact wrench, remove the crankshaft pulley.
^ Remove and discard the crankshaft pulley bolt and washer.
^ Remove the crankshaft pulley.
^ Remove the diamond washer and discard.

74. CAUTION: Use care not to damage the engine front cover or the crankshaft when removing the seal.





Using the special tool, remove the crankshaft front oil seal.





75. Remove the 22 bolts and the engine front cover.





76. Compress the timing chain tensioner in the following sequence.
1. Using a small pick, release and hold the ratchet mechanism.
2. While holding the ratchet mechanism in the released position, compress the tensioner by pushing the timing chain arm toward the tensioner.
3. Insert a paper clip into the hole to retain the tensioner.





77. Remove the 2 bolts and timing chain tensioner.





78. Remove the RH timing chain guide.





79. Remove the timing chain.





80. Remove the 2 bolts and the LH timing chain guide.

81. CAUTION: The special tool 303-465 is for camshaft alignment only. Using this tool to prevent engine rotation can result in engine damage.





Using the flats on the camshaft to prevent camshaft rotation, remove the bolt and the exhaust camshaft sprocket.

82. CAUTION: The special tool 303-465 is for camshaft alignment only. Using this tool to prevent engine rotation can result in engine damage.





Using the flats on the camshaft to prevent camshaft rotation, remove the bolt and the intake camshaft sprocket.





83. Remove the oil pump chain tensioner and guide.
1 Release the tension on the tensioner spring.
2 Remove the tensioner and the 2 shoulder bolts.
3 Remove the 2 shoulder bolts and the guide.

84. NOTE: Remove and discard the crankshaft sprocket diamond washer located behind the crankshaft sprocket.

NOTE: The oil pump chain sprocket must be held in place.





Remove the oil pump chain and sprockets.
1 Remove the bolt.
2 Remove the chain and sprockets.





85. Mark the position of the camshaft lobes on the No. 1 cylinder for assembly reference.





86. Remove the bolt and the VCT solenoid.

87. CAUTION: Failure to follow the camshaft loosening procedure can result in damage to the camshafts.

NOTE: Mark the location and orientation of each camshaft bearing cap.





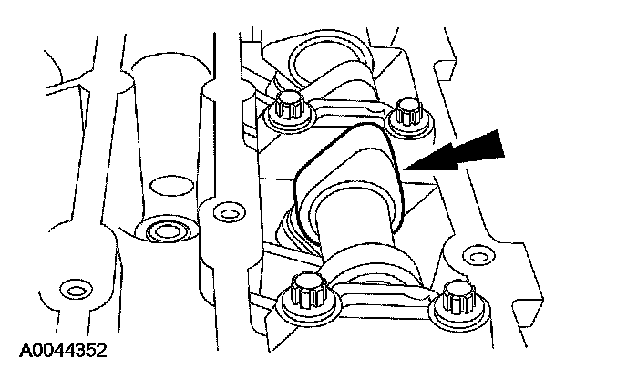
Remove the camshafts from the engine.
^ Loosen the camshaft bearing cap bolts, in the sequence shown, one turn at a time until all tension is released from the camshaft bearing caps.
^ Remove the bolts and the camshaft bearing caps.
^ Remove the camshafts.

88. CAUTION: If the camshafts and valve tappets are to be reused, mark the location of the valve tappets to make sure they are assembled in their original positions.

NOTE: The number on the valve tappets only reflects the digits that follow the decimal. For example, a tappet with the number 0.650 has the thickness of 3.650 mm.

Remove and inspect the valve tappets.





89. Remove the cylinder head.
^ Remove and discard the 10 cylinder head bolts.
^ Remove the cylinder head.
^ Remove and discard the cylinder head gasket.





90. Remove the 2 cylinder head alignment dowels.





91. Remove the 13 bolts and the oil pan.





92. Remove the 6 bolts and the rear crankshaft seal.





93. Remove the 2 bolts, oil pump pickup tube and gasket.





94. Remove the 4 bolts and the oil pump.





95. Make sure the Crankshaft TDC Timing Peg is still installed and the engine is still at TDC.
^ Rotate the crankshaft slowly clockwise until the crankshaft balance weight is up against the Crankshaft TDC Timing Peg.





96. Mark the balancer unit front shafts on the top for reference that the balancer unit is at Top Dead Center (TDC).





97. NOTICE: Due to the precision interior construction of the balancer unit, it should not be disassembled.

Remove the 4 bolts and the balancer unit.





98. Remove the Crankshaft TDC Timing Peg.

99. Before removing the pistons, inspect the top of the cylinder bores. If necessary, remove the ridge or carbon deposits from each cylinder using an abrasive pad or equivalent, following manufacturer's instructions.





100. NOTE: Clearly mark the connecting rods, connecting rod caps and connecting rod bearings in numerical order for correct orientation for reassembly.

Remove the connecting rod cap bolts and cap.





101. NOTICE: Do not scratch the cylinder walls or crankshaft journals with the connecting rod.

Using the Connecting Rod Installer, remove the piston/rod assembly from the engine block.
^ Repeat the previous 2 steps until all the piston/rod assemblies are removed from the engine block.





102. Remove the bolts in the sequence shown.
^ Remove the main bearing beam.
^ Discard the bolts.





103. Remove the crankshaft from the engine block.





104. NOTE: If the main bearings are being reused, mark them in order for correct orientation and reassembly.

Remove the main bearings from the main bearing beam.





105. NOTE: If the main bearings are being reused, mark them in order for correct orientation and reassembly.

NOTE: The center bulkhead has the thrust bearing.

Remove the main bearings from the cylinder block.





106. NOTE: If the oil squirters are being reused, mark them in order for correct location during reassembly.

NOTE: The front bulkhead does not have an oil squirter.

Remove the 4 oil squirters.

107. Inspect the cylinder block, main bearing beam, pistons and connecting rods.