Operation CHARM: Car repair manuals for everyone.
Manuals through 2025 now available!

Our trusted friends have launched a new website named LEMON, which has newer manuals. It also contains all the CHARM manuals.

LEMON is the spiritual successor to CHARM, I recommend you try it!

Link: lemon-manuals.la or lemon-manuals.org.ua

(Some people have issue connecting. LEMON is investigating. For now, use Firefox or change your DNS server)

Or, hide this message: temporarily or permanently

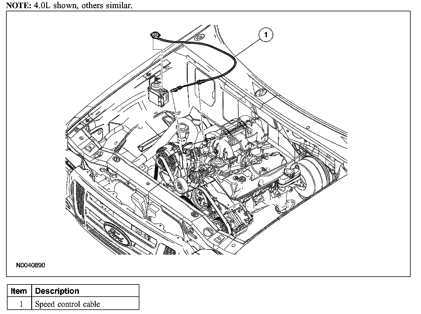
Cruise Control Servo Cable: Service and Repair

SPEED CONTROL CABLE







Removal and Installation

Vehicles with 2.3L engine







1. Remove the 2 bolts and the accelerator control splash shield.







2. Disconnect the speed control cable from the throttle body.
1 Disconnect the cable from the throttle lever.
2 Press the tabs and separate the speed control cable from the intake manifold.

Vehicles with 3.0L engine







3. Disconnect the air cleaner outlet tube from the throttle body.







4. Remove the bolt and the accelerator control splash shield.







5. Disconnect the speed control cable and remove the cable from the bracket.

Vehicles with 4.0L engine







6. Remove the 3 bolts and the accelerator control splash shield.







7. Separate the speed control cable from the intake manifold.
1 Disconnect the cable from the throttle lever.
2 Press the locking tabs and separate the speed control cable from the intake manifold.

All vehicles







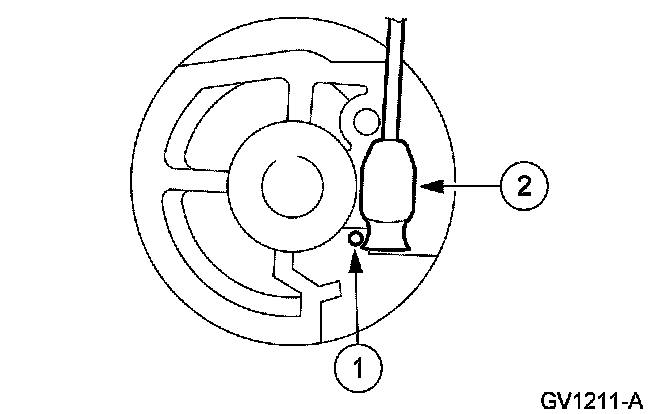
8. Remove the speed control cable cap from the speed control actuator.
- Push in the locking arm on the speed control cable cap then rotate the cap counterclockwise.







9. Remove the speed control cable.
1 Press the spring retainer.
2 Slide the core wire end out of the speed control actuator pulley and remove the speed control cable.

10. NOTE: Make sure the rubber seal is fully seated onto the speed control cable cap.

To install, reverse the removal procedure.