Operation CHARM: Car repair manuals for everyone.
Manuals through 2025 now available!

Our trusted friends have launched a new website named LEMON, which has newer manuals. It also contains all the CHARM manuals.

LEMON is the spiritual successor to CHARM, I recommend you try it!

Link: lemon-manuals.la or lemon-manuals.org.ua

(Some people have issue connecting. LEMON is investigating. For now, use Firefox or change your DNS server)

Or, hide this message: temporarily or permanently

Cruise Control Servo: Service and Repair

SPEED CONTROL ACTUATOR







Removal and Installation
1. Disconnect the speed control actuator electrical connector.







2. Remove the speed control cable cap from the speed control actuator.
- Push in the locking arm on the speed control cable cap and rotate the cap counterclockwise.







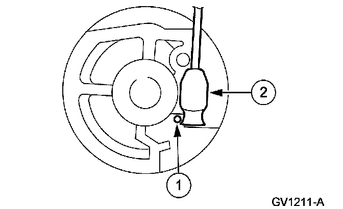
3. Remove the speed control cable.
1 Press the spring retainer.
2 Slide the core wire end out of the speed control actuator pulley and remove the speed control cable.

4. Remove the bolt and the speed control actuator and bracket assembly.
- To install, tighten to 11 Nm (8 lb-ft).







5. Remove the 3 bolts and separate the speed control actuator bracket from the speed control actuator.
- To install, tighten to 9 Nm (80 lb-in).

6. NOTE: Make sure the rubber seal is fully seated onto the speed control cable cap.

To install, reverse the removal procedure.