Part 2
EngineAssembly (Steps 32-63)
32. CAUTION: After installation, do not loosen the synchronizer bolt and rotate the synchronizer assembly. The synchronizer assembly is not adjustable. Do not loosen the synchronizer bolt after the alignment tool has been removed in order to align the CMP electrical connector for any reason. If the electrical connector is not in the correct position, the synchronizer assembly must be removed, the alignment tool and the assembly reinstalled if the engine has not been rotated from top dead center of the compression stroke on the No. 1 cylinder.
CAUTION: A synchronizer alignment gauge must be used during the installation of the synchronizer assembly. Failure to follow this procedure will result in the fuel system being out of time with the engine, possibly causing engine damage.
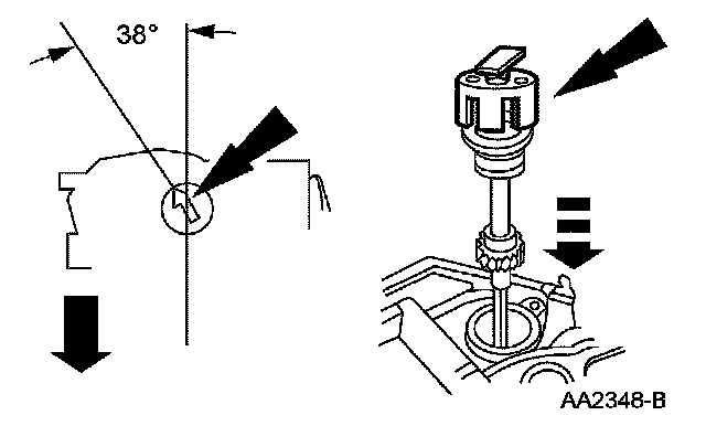
Install the special tool on the camshaft synchronizer by rotating the tool until it engages the notch in the camshaft synchronizer housing.
33. NOTE: Always coat the synchronizer drive gear with clean engine oil prior to installation.
NOTE: During installation, the arrow on the synchronizer alignment gauge will rotate clockwise as the gears engage.
Install the camshaft synchronizer housing assembly so the arrow on the synchronizer alignment tool is 38 degrees from the centerline of the engine.
34. Install the camshaft synchronizer retaining bolt.
^ Tighten to 30 Nm (22 ft. lbs.).
35. Install the camshaft position (CMP) sensor and the 2 bolts.
^ Tighten to 3 Nm (27 inch lbs.).
36. NOTE: If the lower intake manifold is not secured within 4 minutes, the sealant must be removed and the sealing area cleaned with metal surface cleaner. Allow to dry until there is no sign of wetness or 4 minutes, whichever is longer. Failure to follow this procedure can cause future oil leakage.
Apply 4 beads of silicone gasket and sealant.
37. Position the intake manifold gaskets and end seals.
38. Install the lower intake manifold and the 8 bolts. Tighten the bolts in two stages in the sequence shown.
^ Stage 1: Tighten to 15 Nm (11 ft. lbs.).
^ Stage 2: Tighten to 32 Nm (24 ft. lbs.).
39. CAUTION: If reusing the push rods and rocker arms, they must be installed in their original positions.
Install the 12 push rods and the 12 rocker arms.
^ Tighten to 32 Nm (24 ft. lbs.).
40. NOTE: If the valve covers are not secured within 4 minutes, the sealant must be removed and the sealing area cleaned with metal surface cleaner. Allow to dry until there is no sign of wetness or 4 minutes, whichever is longer. Failure to follow this procedure can cause future oil leakage.
Apply a bead of silicone gasket and sealant to the 4 intake-to-cylinder head seams.
41. If removed, install the valve cover gaskets.
42. Install the LH valve cover.
^ Tighten to 12 Nm (9 ft. lbs.).
43. Install the RH valve cover.
^ Tighten to 12 Nm (9 ft. lbs.).
44. Position a new exhaust manifold gasket and install the RH exhaust manifold and 6 bolts.
^ Tighten in the sequence shown, in 2 stages:
^ Stage 1: Tighten to 10 Nm (89 inch lbs.).
^ Stage 2: Tighten to 22 Nm (16 ft. lbs.).
45. Install the RH exhaust manifold heat shield and the 3 bolts.
^ Tighten to 10 Nm (89 inch lbs.).
46. Install the RH spark plug wires and attach the retainers.
47. Position a new exhaust manifold gasket and install the LH exhaust manifold, 4 bolts and 2 stud bolts.
Tighten in the sequence shown, in 2 stages:
^ Stage 1: Tighten to 10 Nm (89 inch lbs.).
^ Stage 2: Tighten to 22 Nm (16 ft. lbs.).
48. Install the LH spark plug wires and attach the retainers.
49. NOTE: If the oil level indicator tube is not secured within 4 minutes, the sealant must be removed and the sealing area cleaned with metal surface cleaner. Allow to dry until there is no sign of wetness or 4 minutes, whichever is longer. Failure to follow this procedure can cause future oil leakage.
Coat the sealing surface of the oil level indicator tube with silicone gasket and sealant.
50. Install the oil level indicator and tube and nut.
^ Tighten to 18 Nm (13 ft. lbs.).
51. Position the engine control sensor wiring harness onto the engine and attach the wiring harness retainers onto the valve cover studs.
52. Connect the 6 fuel injector electrical connectors.
53. Connect the oil pressure switch electrical connector.
54. Connect the camshaft position (CMP) sensor and engine coolant temperature (ECT) sensor electrical connectors.
55. NOTE: Clean all of the sealing surfaces. Inspect the upper intake manifold gaskets and install new gaskets as necessary.
Install the upper intake manifold, radio interference capacitor, bolt and 3 stud bolts.
^ Tighten the retainers in 2 stages in the sequence shown.
^ Stage 1: Tighten the retainers hand tight.
^ Stage 2: Tighten the retainers to 10 Nm (89 inch lbs.).
56. Install the EGR vacuum regulator and the 2 nuts.
^ Tighten to 6 Nm (53 inch lbs.).
57. Attach the spark plug wire retainer to the intake manifold stud bolt.
58. Connect the positive crankcase ventilation (PCV) tube to the PCV valve.
59. Connect the PCV tube to the upper intake manifold.
60. Connect the intake manifold runner control (IMRC) and PCV electrical connectors.
61. Connect the RH heated oxygen sensor (HO2S) electrical connector.
62. Connect the vacuum tube and electrical connector to the exhaust gas recirculation (EGR) vacuum regulator.
63. Connect the vacuum tube and electrical connector to the fuel rail pressure (FRP) sensor.