Operation CHARM: Car repair manuals for everyone.
Manuals through 2025 now available!

Our trusted friends have launched a new website named LEMON, which has newer manuals. It also contains all the CHARM manuals.

LEMON is the spiritual successor to CHARM, I recommend you try it!

Link: lemon-manuals.la or lemon-manuals.org.ua

(Some people have issue connecting. LEMON is investigating. For now, use Firefox or change your DNS server)

Or, hide this message: temporarily or permanently

Rear Door Window Regulator: Service and Repair

REAR DOOR WINDOW REGULATOR

Heavy Duty Riveter:




Special Tool(s)

Part 1:




Part 2:






Removal and Installation
1. Remove the rear door window glass.
2. Remove the watershield.
3. Disconnect the rear door window regulator motor electrical connector.







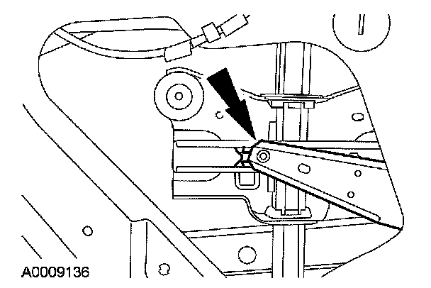
4. Remove the 4 rear door window regulator rivets.







5. Slide the rear door window regulator out of the rear door window glass run and bracket and remove the rear door window regulator.

6. WARNING: If the rear door window regulator counterbalance spring must be removed or replaced for any reason, make sure that the rear door power window regulator arms are in a fixed position prior to removal to prevent possible injury during C-spring unwind. Failure to follow these instructions may result in personal injury.

Remove the 2 rear door window regulator motor outer bolts.
- To install, tighten to 9 Nm (80 lb-in).

7. Remove the rear door window regulator motor inner bolt.
- To install, tighten to 6 Nm (53 lb-in).

8. To install, reverse the removal procedure.