Operation CHARM: Car repair manuals for everyone.
Manuals through 2025 now available!

Our trusted friends have launched a new website named LEMON, which has newer manuals. It also contains all the CHARM manuals.

LEMON is the spiritual successor to CHARM, I recommend you try it!

Link: lemon-manuals.la or lemon-manuals.org.ua

(Some people have issue connecting. LEMON is investigating. For now, use Firefox or change your DNS server)

Or, hide this message: temporarily or permanently

Part 2

41. NOTE: The foot of the overdrive retainer fits against the band.





Install the overdrive band anchor strut with the cross hairs facing upward.





42. Remove the No. 8 sprocket thrust washer and the No. 9 bearing and race from the driven sprocket support.
1 Remove the No. 9 bearing and race.
2 Remove the No. 8 sprocket support.





43. Install only the No. 9 needle bearing with the outer lip upward.





44. Install the special tool over the output shaft until it is fully seated on to the No. 9 needle bearing.





45. Install the special tool to make the measurements.





46. When taking the measurement, record readings on both sides of the output shaft 180 degrees apart from each other. Add both readings and divide by 2 to obtain reading A.

47. NOTE: Reading A and Dimension C from the chart will be used in the selection of the No. 5 thrust washer.

No. 8 Thrust Washer Selection Charts:





Use reading A to select the correct No. 8 thrust washer from the chart.





48. Remove the special tools.





49. Install the special tools to take the measurements.





50. Measure down to the No. 5 thrust washer mating surface of the overdrive drum. Take another reading on the other side of the drum 180 degrees from the first one. Add both readings and divide by 2 to obtain reading B.





51. Remove the special tools.

52. NOTE: Reading A was obtained during No. 8 thrust washer selection. Dimension C is found on the No. 8 thrust washer selection chart.





Subtract reading A from Reading B and add the difference between A and B to dimension C. Record this reading as D.
53. Use Reading D to select the correct No. 5 thrust washer.

No. 5 Support Thrust Washer Chart:





54. NOTE: Use petroleum jelly to hold the No. 5 thrust washer in place.





Install the No. 5 front support thrust washer.

55. CAUTION: The No. 9 direct hub needle bearing may still be inside the transaxle from the No. 8 driven sprocket support thrust washer selection procedure. Use petroleum jelly to hold bearing and washer in place.





Install the correct bearing.
1 Install the correct No. 8 driven sprocket support thrust washer.
2 Install the No. 9 direct clutch needle bearing.





56. Install the driven sprocket support assembly.





57. Install the neutral/drive accumulator cover.
1 Install the neutral/drive accumulator piston.
2 Install the neutral/drive accumulator spring.
^ The outer spring is yellow in color.
^ The inner spring is grey in color.
3 Install the neutral/drive accumulator cover.





58. Install the neutral/drive accumulator bolt.
^ Tighten to 11 Nm (8 ft. lbs.).

59. NOTE: All the fluid supply tubes must have new O-rings installed.





Install the fluid supply tubes.





60. Install the fluid lube tube brackets and bolts.
^ Tighten to 11 Nm (8 ft. lbs.).





61. Using the special tool, install the manual control lever shaft seal.





62. Install the parking lever actuating rod.
^ Push in on the park pawl.
^ Slide the parking lever actuating rod down to fit in the park pawl.

63. NOTE: The manual control valve detent lever must be installed with the shoulder and roll pin hole pointing toward the driven sprocket support.





Install the manual control lever shaft.

64. NOTE: Prior to installing the roll pins be sure that the manual control valve detent lever shoulder and roll pin hole is pointing toward the driven sprocket support.





Install the roll pins.

65. NOTE: Apply petroleum jelly to the drive sprocket thrust washer and driven sprocket thrust washer to hold them in place.





Install the thrust washers.
1 Install the No. 2 drive sprocket thrust washer.
2 Install the No. 4 driven sprocket thrust washer.

66. CAUTION: Be careful not to damage or bend the exciter tabs on the driven sprocket speed sensor wheel. The TSS sensor will not operate correctly if the tabs are bent.

NOTE: Lower the assembly into the sprocket supports simultaneously.





Install the drive chain and sprockets.





67. Install the shift accumulator springs.
1 Install the 1-2 shift accumulator piston spring (no color or brown).
2 Install the 2-3 shift accumulator piston spring (no color or brown).
3 Install the reverse shift accumulator piston spring (pink).
4 Install the 3-4 shift accumulator piston spring (pink).

68. NOTE: Make sure that the alignment pins are installed in the case.





Install the new chain cover gasket.

69. CAUTION: Be extremely careful not to damage the cast iron sealing ring.





Use petroleum jelly to hold thrust washers in place during assembly.
1 Install the No. 1 thrust washer.
2 Install the No. 2 thrust washer.
3 Install the chain cover.

70. NOTE: After installing the chain cover the input shaft should have some end play and should rotate freely. Apply gentle downward pressure on the chain cover to overcome spring pressure.





Start the 2 chain cover bolts.





71. Install the remaining bolts.
1 Tighten to 30 Nm (22 ft. lbs.).
2 Tighten to 13 Nm (10 ft. lbs.).
3 Tighten to 28 Nm (21 ft. lbs.).
4 Tighten to 41 Nm (30 ft. lbs.).





72. Install the bolts.
1 Tighten to 13 Nm (10 ft. lbs.).
2 Tighten to 30 Nm (22 ft. lbs.).

73. CAUTION: The test spring from the overdrive servo rod tool is plain in color and has a shorter free height than the operational spring. Extreme care must be used not to assemble the transaxle using the test spring.





Inspect the spring height.
1 Test spring.
2 Original spring.





74. Check overdrive servo travel. Install the overdrive servo piston.
1 Install the test spring.
2 Install the overdrive servo piston.





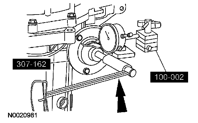
75. Install the special tools.
^ Tighten to 10 Nm (89 inch lbs.).





76. Using the special tools, tighten the center screw and zero out the dial indicator.
^ Tighten to 1.13 Nm (10 inch lbs.).





77. Using the special tools, back off the center screw until the piston movement stops and read the dial indicator. The reading should be within specification. If the reading does not match the specification, see the overdrive specification chart and determine which overdrive servo rod to use.
78. If the overdrive servo travel was incorrect, install a new overdrive servo rod. Zero the dial indicator and repeat the above step to verify the amount of piston travel. If within specification, remove the tool and test spring.

Overdrive Piston Rod Selection Chart:





79. CAUTION: Do not assemble the transaxle using the test spring.





Install the overdrive servo.
1 Install the overdrive servo spring.
2 Install the overdrive servo.
3 Install the overdrive servo cover and bolts.
^ Tighten to 13 Nm (10 ft. lbs.).





80. Install the special tools.

81. WARNING: Wear safety glasses while carrying out this procedure to prevent personal injury.

NOTE: When applying regulated 276 kPa (40 psi) air pressure to the appropriate passage, a dull thud should be heard when the clutch or band applies. There should be no hissing sound when the clutch or band applies.

NOTE: Plugging the vent hole during the test will provide an inaccurate result.











Cover the vent hole in the test plate with a clean lint free shop towel to prevent spray when air is applied. Apply air pressure to the appropriate clutch ports.

82. CAUTION: The seals must be lapped correctly or internal leakage will occur.





Install the new Teflon seals on the pump shaft.





83. Install the pump shaft.





84. Install the manual valve detent lever.





85. Install the main control valve body over the pump shaft and connect the main control valve actuating rod while pushing down until it is seated on the chain cover.

86. CAUTION: Do not use the bolts to draw pump assembly and main control valve body onto the chain cover case. Component damage may occur.





Use the valve body guide pins to install the pump assembly and main control valve body. Install the bolts and tighten in sequence shown.
^ Tighten to 13 Nm (10 ft. lbs.).





87. Connect the connectors.

88. NOTE: The transaxle side cover gasket is reusable if not torn or ripped.





Remove the gasket. Clean and inspect the gasket, and reinstall into the pan.





89. Loosely install the 15 transaxle side pan bolts.





90. Tighten the 4 transaxle side pan bolts.
^ Tighten to 12 Nm (9 ft. lbs.).





91. Tighten the 11 transaxle side pan bolts.
^ Tighten to 29 Nm (21 ft. lbs.).





92. Install the mount bracket and bolts.
^ Tighten to 62 Nm (46 ft. lbs.).





93. Tighten the reverse clutch anchor bolt.
1 Tighten the anchor bolt to 11 Nm (8 ft. lbs.).
2 Tighten the locknut to 54 Nm (40 ft. lbs.).





94. Install the new seal and gasket kit and seal assembly.





95. Install the fluid pan magnet.

96. NOTE: The gasket is reusable if not damaged or torn.





Install the transmission fluid pan, gasket and bolts.
^ Tighten to 12 Nm (9 ft. lbs.).





97. Install the turbine shaft speed (TSS) sensor.
^ Tighten to 11 Nm (8 ft. lbs.).

98. NOTE: Locate and align the orange dot adjacent to the stud on the torque converter and place it in the 6 o'clock position.

Verify that the shift selector lever is in NEUTRAL.





99. Install the digital TR sensor and loosely install the bolts.





100. Using the special tool, align the digital TR sensor.
^ Tighten to 11 Nm (8 ft. lbs.).





101. Install the fluid filler tube with a new grommet.
1 Install the filler tube grommet.
2 Install the fluid filler tube and bolt.
^ Tighten to 13 Nm (10 ft. lbs.).





102. Using the special tool, install the LH output shaft seal.





103. Using the special tool, install the RH output shaft seal.





104. Install the output shaft speed (OSS) sensor and reconnect the harness.





105. Install the OSS sensor cover.
1 Install the OSS sensor cover.
2 Install the OSS sensor cover bolt.
^ Tighten to 11 Nm (8 ft. lbs.).
3 Connect the OSS sensor electrical connector to the bracket.





106. Install the identification tag, if removed.

107. NOTE: Locate and align the orange dot adjacent to the stud on the torque converter and place it in the 6 o'clock position.





Using the special tools, install the torque converter.