Operation CHARM: Car repair manuals for everyone.
Manuals through 2025 now available!

Our trusted friends have launched a new website named LEMON, which has newer manuals. It also contains all the CHARM manuals.

LEMON is the spiritual successor to CHARM, I recommend you try it!

Link: lemon-manuals.la or lemon-manuals.org.ua

(Some people have issue connecting. LEMON is investigating. For now, use Firefox or change your DNS server)

Or, hide this message: temporarily or permanently

Part 1

Transaxle

Special Tool(s):




Special Tool(s):




Special Tool(s):





1. CAUTION: The torque converter is heavy. Be careful not to drop it or damage will result.





Using the special tools, remove the torque converter.





2. Using the special tool, install the transaxle into the bench.

3. NOTE: When installing a new case, the identification tag must be transferred to the new case, use caution to prevent damage to the tag.





Remove the identification tag.





4. Place a drain pan under the transaxle and rotate the transaxle to a vertical position.





5. Remove the filler tube.

6. CAUTION: The overdrive band servo spring cover is under spring tension. Care must be taken when removing as components can be ejected from the case.





Remove the overdrive servo piston and rod.
^ Remove the bolts.
^ Remove the cover.
^ Remove the piston and rod.





7. Remove the output shaft speed (OSS) sensor cover.





8. Remove the OSS sensor.
^ Unclip the harness.
^ Remove the OSS sensor.





9. Remove the digital TR sensor.
1 Remove the 2 bolts.
2 Remove the digital TR sensor.





10. Remove the TSS sensor.
1 Remove the TSS sensor bolt.
2 Remove the TSS sensor.

11. NOTE: The differential seal is a 2-piece constructed seal.





Using the special tools, remove the LH differential seal.





12. Using the special tools, remove the LH differential seal metal protector.
1 Rotate the Front Crankshaft Oil Seal Remover.
2 Rotate the forcing screw while holding the Front Crankshaft Oil Seal Remover.
3 Remove the metal protector from the LH differential seal and remove the protector from the tool.





13. Using the special tools, remove the rubber portion of the LH differential seal.
1 Install the special tool into the LH differential seal.
2 Rotate the forcing screw while holding the Front Crankshaft Oil Seal Remover.
3 Remove the rubber portion of the seal.





14. Install the special tool into the RH differential seal.





15. Using the special tools, remove the RH differential seal metal protector.
1 Rotate the Front Crankshaft Oil Seal Remover.
2 Rotate the forcing screw while holding the Front Crankshaft Oil Seal Remover.
3 Remove the metal protector of the seal.





16. Using the special tool, remove the rubber portion of the seal.
1 Rotate the Front Crankshaft Oil Seal Remover.
2 Rotate the forcing screw while holding the Front Crankshaft Oil Seal Remover.
3 Remove the rubber portion of the seal.

17. CAUTION: Using the special tool, remove the converter hub seal. Stator support surface will be damaged if any other type tool is used. Stator support surface damage will cause a P0741 code to be set after repairs.





Using the special tools, remove the converter hub seal.





18. Remove the bolts.
19. Rotate the transaxle to a horizontal position.





20. Remove the mount bracket.

21. NOTE: The main control cover gasket is reusable if not torn or damaged.





Remove the 15 transaxle side pan bolts and remove the transaxle side pan and gasket.

22. CAUTION: Do not pull on the wires or pry the connectors. Damage to the connector will result.





Lift the locking tab and disconnect the electrical connectors.

23. NOTE: The manual valve should be inserted completely.





Using a 9-mm wrench, rotate the manual control lever to the low detent.

24. CAUTION: Do not remove the 2 bolts that hold the pump assembly and main control valve body together as the pump assembly may fall from the main control valve body.

CAUTION: Only 4 of the 6 pump cover bolts must be removed.





Remove the bolts.





25. Remove the main control valve body.
^ Remove the pump assembly and main control valve body.
^ Rotate the main control valve body while lifting off.





26. Disconnect the manual control valve actuating rod.





27. Remove the pump shaft.

28. NOTE: The transaxle pan gasket is reusable if not torn or damaged.





Remove the bolts, transmission fluid pan and gasket.





29. Remove, clean and inspect the magnet.





30. Remove the filter.

31. NOTE: Use a 3/8-inch extension so as not to damage the case while removing the fluid filter seal.





Remove the fluid filter seal.





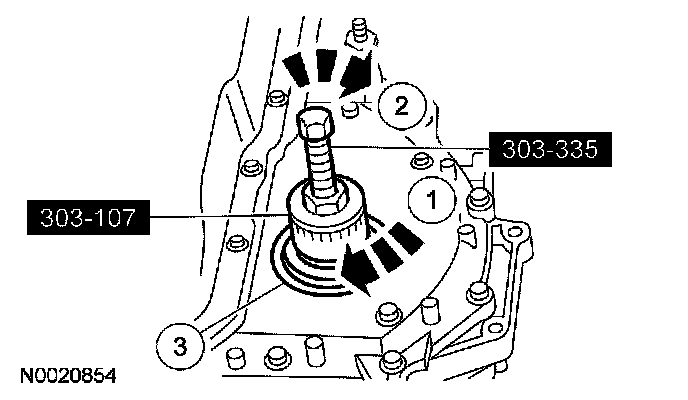
32. Loosen the nut and remove the reverse clutch anchor pin.

33. CAUTION: The chain cover is under spring pressure. Care must be taken to prevent internal parts from being ejected.

NOTE: Mark bolt size and location for assembly.





Remove the bolts.

34. NOTE: Plastic thrust washers No. 1 and No. 3 may stick to the cover or to the sprockets.





Remove the chain cover and gasket.





35. Remove the shift accumulator springs.
1 Remove the 1-2 shift accumulator piston spring.
2 Remove the 2-3 shift accumulator piston spring.
3 Remove the reverse shift accumulator piston spring.
4 Remove the 3-4 shift accumulator piston spring.